(单词翻译:单击)
一、填空题(共10小题,每空2分,满分26分)
1.(2012•安徽)2011年11月3日,“神舟八号”无人飞船与“天宫一号”目标飞行器成功实现对接(图为对接示意图).对接时二者的速度相等,这时以“神舟八号”为参照物,“天宫一号”是 静止 (选填“运动”或“静止”)的.

考点: 运动和静止的相对性。
专题: 应用题。
分析: 解答此题的关键是看被研究的物体与所选的标准,即参照物之间的相对位置是否发生了改变,如果发生改变,则物体是运动的;如果未发生变化,则物体是静止的.
解答: 解:“神舟八号”无人飞船与“天宫一号”目标飞行器对接时二者的速度相等,因此这时以“神舟八号”为参照物,“天宫一号”相对于“神舟八号”的位置没有发生改变,因此“天宫一号”相对于“神舟八号”是静止的.
故答案为:静止.
点评: 此题主要考查对运动和静止的相对性的理解和掌握,研究同一物体的运动状态,如果选择不同的参照物,得出的结论可以不同,但都是正确的结论.
2.(2012•安徽)如图所示,某同学测量一片完整树叶的长度,读数为 2.70 cm.

考点: 刻度尺的使用。
专题: 应用题。
分析: 要弄清楚刻度尺的量程和分度值再去读数.起始端从零开始,要估读到分度值的下一位.
解答: 解:图中刻度尺的分度值为1mm,起始端从零开始,要估读到分度值的下一位.因此A物体的长度为2.70cm;
故答案为:2.70.
点评: 刻度尺是初中物理中基本的测量工具,使用前要观察它的量程和分度值.特别注意:刻度尺读数时视线与刻度垂直,估读到分度值的下一位.
3.(2012•安徽)成语“万籁俱寂”常用来形容夜晚的宁静,从声音的特性分析,这主要是指夜晚声音的 响度 很小.
考点: 响度。
专题: 应用题。
分析: 声音的响度是指声音的强弱.音调是指声音的高低.音色是指声音的品质与特色.声音的响度与声源振动的幅度有关,振动幅度越大,响度越大.
解答: 解:“万籁俱寂”说明声音的振幅较小,故发出声音的响度也会较小;
故答案为:响度.
点评: 解决此类问题要会根据响度、音色和音调的定义区分乐音特征的三个因素.
4.(2012•安徽)一辆卡车空载时行驶速度为25m/s,满载货物时行驶速度为20m/s,满载货物时车的惯性比空载时 大 (选填“大”或“小”).
考点: 惯性。
专题: 作图题。
分析: 惯性是物体本身的一种属性,只与物体的质量有关,质量越大、惯性越大.
解答: 解:因为惯性只与物体的质量有关,质量越大、惯性越大;而空载时的质量小于满载时的质量,所以空载时的惯性小于满载的惯性.
故答案为:大.
点评: 一切物体都有惯性,惯性只与物体的质量有关,质量越大、惯性越大.
5.(2012•安徽)图示的电路中,电阻R1和R2串连接在AB两端,电压表并连接在R1两端.已知R1=10Ω,R2=20Ω,电压表示数为2.5V,则AB两端的电压U= 7.5 V.

考点: 欧姆定律的应用;串联电路的电流规律;电阻的串联。
专题: 计算题;应用题。
分析: 已知两电阻串联,电压表测R1两端的电压,根据欧姆定律求出电路中的电流,根据电阻的串联和欧姆定律求出电源的电压.
解答: 解:两电阻串联,电压表测R1两端的电压,
电路中的电流I=
=
=0.25A,
电源的电压U=I(R1+R2)=0.25A×(10Ω+20Ω)=7.5V.
故答案为:7.5.
点评: 本题考查了串联电路的特点和欧姆定律的应用,是一道简单的计算题.
6.(2012•安徽)一束光从空气斜射到某液面上发生反射和折射,人射光线与液面成30°角(如图),反射光线与折射光线的夹角为83°,则反射角的大小为 60° ,折射角的大小为 37° .

考点: 光的反射定律;光的折射规律。
专题: 应用题。
分析: 要解决此题,首先要掌握光的反射定律的内容,知道反射角等于入射角.
同时要掌握光的折射的规律,知道光从空气斜射入其它介质时,折射角小于入射角.
解答: 解:根据光的反射定律和折射的规律作图.

设入射角为α,折射角为β,则∠AOD=∠DOB=α.
由题意知,人射光线与液面成30°角,则入射角为90°﹣30°=60°;
则折射角β=180°﹣60°﹣83°=37°.
故答案为:60°;37°
点评: 此题主要考查了光的反射和折射定律及其有关的计算.解决此题最关键的是根据题意画出对应的光路图,根据反射定律的内容和已知条件进行计算.
7.(2012•安徽)地球的表面积约5.1×1014m2,地球表面的大气压约 1.0×105 Pa,则大气对地球表面的压力约为 5.1×1019N.
考点: 压强的大小及其计算。
专题: 计算题。
分析: 已知地球的表面积和大气压的值,根据F=ps求出大气对地球表面的压力.
解答: 解:大气对地球表面的压力:
F=ps=1.0×105Pa×5.1×1014m2=5.1×1019N.
故答案为:5.1×1019.
点评: 本题考查了压力的计算,是一道基础题目.
8.(2012•安徽)某汽车的散热器用水作冷却剂,散热器中水的质量为5kg,水的温度升高 10℃时吸收的热量是 2.1×105J.[水的比热容为 4.2×103 J/( kg•℃)].
考点: 热量的计算。
专题: 计算题。
分析: 知道水的质量、水的比热容和水的初温和末温,利用吸热公式求水吸收的热量.
解答: 解:
水吸收的热量:
Q吸=cm△t
=4.2×103J/(kg•℃)×5kg×10℃
=2.1×105J.
故答案为:2.1×105J.
点评: 本题考查了学生对吸热公式Q吸=cm△t的掌握和运用,注意温度升高(△t)与升高到(末温)的区别.
9.(2012•安徽)( 1 )如图 a 所示,某同学用右手螺旋定则判断通电螺线管的磁极,请你在图中标出导线中的电流方向和螺线管的 N、S 极.
( 2 )如图 b 所示,利用动滑轮来提升一个物体,拉力F竖直向上.动滑轮其实就是一个变形的杠杆,请在图中标出它的支点O,并画出F的力臂L.

考点: 通电螺线管的极性和电流方向的判断;力臂的画法。
专题: 作图题。
分析: (1)安培定则内容为:用右手握住螺线管,让四指指向螺线管中电流的方向,则大拇指所指的那端就是螺线管的北极;由图可以判断出通电螺线管的磁极和电流的方向.
(2)动滑轮的本质是动力臂是阻力臂2倍的杠杆,使用时可以省一半的力,但是不能改变力的方向.
解答: 解:
(1)右手定则:用右手握住螺线管,让四指指向螺线管中电流的方向,则大拇指所指的那端就是螺线管的北极.
从图可知,螺旋管的左端为N极,右端为S极,
并且电流方向是从螺旋管的右端流入左端流出.如图所示:
(2)动滑轮的支点O在绳子与边框的接触点上,动力F为绳子的拉力,方向向上,过支点O向动力作用线画垂线,就得到动力臂L,如图所示:
点评: ①对于一个通电螺线管,只要知道电流的方向、线圈的绕法、螺旋管的N、S极这三个因素中的任意两个,我们就可以据安培定则判断出另一个.
②本题考查了力臂的画法.动滑轮是变了形的杠杆,根据杠杆五个要素的概念,确定支点、动力、阻力、动力臂、阻力臂,考查了学生对概念的理解和应用能力.
10.(2012•安徽)如图,某物块用细线系在弹簧测力计下,在空气中称时示数是15N,浸没在水中称时示数是5N,则此时物块受到水的浮力为 10N,物块的密度为 1.5×103 kg/m3.(水的密度为1.0×103 kg/m3 )

考点: 密度的计算;阿基米德原理。
专题: 计算题。
分析: (1)利用称重法F浮=G﹣F示求物块在水中受到的浮力;
(2)求出来了浮力,利用阿基米德原理F浮=ρ水V排g求物块排开水的体积(物块的体积);上面测出了物块的重力,利用G=mg=ρVg求物块的密度.
解答: 解:
(1)F浮=G﹣F示=15N﹣5N=10N,
(2)∵物块浸没水中,F浮=ρ水V排g,
∴V=V排=
,
G=mg=ρVg,
∴ρ=
=
=
ρ水=
×1×103kg/m3
=1.5×103kg/m3
故答案为:10;1.5×103.
点评: 本题考查了学生对重力公式、密度公式、阿基米德原理的掌握和运用,利用好“称重法测浮力”求出金属块在水中受到的浮力是本题的突破口.
二、选择题(每小题3分,共21分;每小题给出的四个选项中,只有一个选项符合题意,请把符合题意的选项序号填入下列表格内,答案未填入表格内的不能得分)
11.(2012•安徽)如图,在一个标准大气压下,某同学将冰块放人空易拉罐中并加人适量的盐,用筷子搅拌大约半分钟,测得易拉罐中冰与盐水混合物的温度低于0℃,实验时易拉罐的底部有白霜生成.对于这一实验和现象的分析,正确的是( )

A. 盐使冰的熔点低于 0℃,白霜的生成是凝华现象
B. 盐使冰的熔点高于 0℃,白霜的生成是凝华现象
C. 盐使冰的熔点低于 0℃,白霜的生成是凝固现象
D. 盐使冰的熔点高于 0℃,白霜的生成是凝固现象
考点: 生活中的凝华现象。
专题: 应用题。
分析: 冰与盐混合后,冰的熔点降低,物质由气态直接变成固态是凝华.
解答: 解:往冰上撒盐,使冰中参入杂质,降低冰的熔点,使冰熔化;同时空气中的水蒸气遇冷直接凝华成小冰晶附在底部形成霜.
故选A.
点评: 本题主要考查学生对晶体熔点与杂质是否有关的了解,以及凝华现象,对生活中常见的物态变化要有所认识.
12.(2012•安徽)以下描述的各力中,两物体必须接触才能发生相互作用的是( )
A.
地球对人的引力 B.
C.
支架对磁铁的支持力 D.
考点: 力作用的相互性;力的概念。
专题: 图析法。
分析: 物体间力的作用是相互的,分析各个选项中产生力的情形,是否需要接触,据此进行判断选择.
解答: 解:地球对人的引力、磁极间的作用力、两带电气球间的斥力,这三个力,不接触也能产生;
支架对磁铁的支持力,是磁铁压支架,力的作用是相互的,支架给磁铁产生支持力,必须接触才能产生.
故选C.
点评: 力是物体对物体的作用,物体间力的作用是相互的,知道引力、磁力的产生不需要力是本题的关键.
13.(2012•安徽)人们根据物理原理或规律制造出许多机器设备,下列叙述中正确的是( )
A. 投影仪是利用凸透镜成像的原理
B. 电动机是利用电磁感应现象制成的
C. 内燃机是将机械能转化为内能的机器
D. 发电机的原理是磁场对电流有力的作用
考点: 凸透镜成像的应用;直流电动机的原理;发电机的构造和原理;热机。
专题: 应用题。
分析: ①凸透镜成像的规律之一,当f<u<2f时,成倒立、放大的实像,此时v>2f.利用其可制成投影仪.
②电动机的前提是供电,结果是产生运动,利用通电导体在磁场中受力的原理.
③内燃机是将内能转化为机械能的机器.
④发电机是用来产生电的,它利用电磁感应现象制成的
解答: 解:A、投影仪是利用凸透镜成像中的f<u<2f时,成倒立、放大的实像的原理,故本选项正确.
B、电动机是利用通电导体在磁场中受力而运动的现象制成的,故本选项错误.
C、在内燃机的做功冲程中将燃料燃烧产生的内能转化为机械能,为热机工作提供动力,故本选项错误.
D、发电机的原理是利用电磁感应现象制成的,故本选项错误.
故选A.
点评: (1)熟练掌握凸透镜成像的三种情况,以及三种成像情况的应用.
(2)要解决此题,明确各个设备的制成原理是关键.
14.(2012•安徽)我们可以用路程来描述物体的运动,还可以从初位置到末位置作出一条线段来表示物体位置的变化.如图,某物体分别沿两条路径从M点运动到N点:第一次先从M到P,再从P到N;第二次直接从M到N.则物体的两次运动( )

A. 路程相等,位置的变化相同 B. 路程不等,位置的变化不同
C. 路程相等,位置的变化不同 D. 路程不等,位置的变化相同
考点: 速度与物体运动。
专题: 图析法。
分析: ①人、交通工具走过或驶过的距离叫路程;
②物体在某一段时间内,如果由初位置移到末位置,则由初位置到末位置的有向线段就是位置的变化.
解答: 解:
由图可知,物体第一次通过的路程是MP+PN两段线段,第二次通过的路程是MN,从数学知识知,MN<MP+PN;
但前后两次位置的变化都是线段MN.
故选D.
点评: 物体位置的变化叫位移,属于高中力学内容.
15.(2012•安徽)下列关于功、内能和热量的描述中正确的是( )
A. 物体的温度不变,内能一定不变
B. 做功和热传递都能改变物体的内能
C. 温度高的物体含有的热量比温度低的物体多
D. 热量总是从内能大的物体向内能小的物体传递
考点: 温度、热量与内能的关系。
专题: 应用题。
分析: (1)改变物体内能的两种方式:做功和热传递,改变物体内能的两种方法是等效的.
(2)内能是指物体内部所有分子的分子动能和分子势能的和;物体的内能发生变化,可能表现在物体的温度变化,也可能是状态的变化.
(3)一切物体都具有内能,内能的大小跟质量、温度、状态有关.
(4)热传递的条件和热传递的特点.
解答: 解:A、内能的多少与物体的质量、温度、状态有关,温度不是决定物体内能大小的唯一因素,应考虑其它因素.故A不符合题意.
B、改变物体内能的两种方式:做功和热传递,改变物体内能的两种方法是等效的;故B符合题意.
C、温度高的物体,含有的热量一定多;错误,热量不是状态量,不能说含有或者具有热量;故C不符合题意.
D、传递的条件是:有温度差;热传递的特点是:高温物体放出热量,低温物体吸收热量,热量从高温物体传给低温物体,但内能小的物体温度可能比内能大的物体温度高,因此热量也可能由内能小的物体传给内能大的物体.故D不符合题意.
故选B.
点评: 要正确理解温度、热量与内能的关系,改变物体内能的两种方法是等效的,以及热传递的条件和热传递的特点.
解决问题的诀窍是:物体吸热或温度升高,内能一定增大;但物体吸收了热量,不一定是用来升高温度.
16.(2012•安徽)某同学利用图示电路研究并联电路电流的规律.闭合开关S再迅速断开,发现接通电路的短时间内,两只小灯泡均发光,电流表的指针正向偏转超过最大刻度.产生这种现象的原因可能是( )

A. 小灯泡Ll发生短路 B. 小灯泡L2发生短路
C. 电流表使用的量程小了 D. 电流表的接线柱接反了
考点: 电流表、电压表在判断电路故障中的应用。
专题: 逆推法。
分析: 使用电流表测量电流时,必须使电流表与用电器串联,使电流从“+”接线柱流入,从“﹣”流出,并且被测电流不能超过电流表的最大量程.
解答: 解:
A 如果灯泡L1短路,电路电流很大,但灯泡L1不会发光.此选项不符合题意;
B 如果灯泡L1短路,电路电流很大,但灯泡L1不会发光.此选项不符合题意;
C 如果电流表使用的量程太小,因为电流较大,所以指针会迅速转到最右侧,超过最大刻度.此选项符合题意;
D 如果电流表的接线柱接反了,闭合开关,指针会向左偏转.此选项不符合题意.
故选C.
点评: 使用电流表时,指针偏转不正常的情况有四种:①不偏转,原因是电路断路或电流表短路;②偏转角度很小,原因是电流太小或选择的量程太大;③指针迅速转到最右侧,原因是电流太大或选择的量程太小;④指针倒转,原因是电流方向错了.
17.(2012•安徽)如图所示,有一斜面长为L,高为h,现用力F沿斜面把物重为G的物体从底端匀速拉到顶端.已知物体受到斜面的摩擦力为f,则下列关于斜面机械效率η的表达式正确的是( )

A. η=
×100% B. η=
×100% C. η=
×100% D. η=
×100%
考点: 机械效率的计算;斜面的机械效率。
专题: 计算题。
分析: 斜面是用来提高物体位置的,有用功等于物体重力和斜面高度的乘积,即W有用=Gh;总功等于物体沿斜面向上的拉力和斜面长的乘积,即W总=FS;机械效率就是有用功和总功的比值.使用斜面时,所做的额外功就是克服物体与斜面摩擦力做的功,总功等于有用功和额外功之和,据此进行分析和判断即可.
解答: 解:
∵斜面的高为h,物体的重力为G,
∴有用功为:W有用=Gh,
又∵斜面长为L,拉力为F,
∴总功为:W总=FL,
则机械效率为:η=
=
,
而物体与斜面的摩擦力为f,
∴额外功为:W额外=fL,
则总功为:W总=W有用+W额外=Gh+fL,
故机械效率为:η=
×100%=
×100%,故D正确;
A选项中,是有用功与额外功的比值,不是机械效率,故A错;
B选项中,是有用功与有用功的比值,不是机械效率,故B错;
C选项中,是有用功与(总功加上额外功)的比值,不是机械效率,故C错.
故选D.
点评: 此题考查有关斜面机械效率的计算,容易出错的是摩擦力的计算,我们要知道使用斜面时克服摩擦力做的功就是额外功,关键在于明确总功应等于有用功与额外功之和.
三、实验题(第18小题4分,第19、20小题各8分,共20分)
18.(2012•安徽)某同学利用天平测物体的质量.测量前,他将天平放在水平桌面上,此时指针和游码位置如图所示.为了调节天平横梁平衡,正确的操作步骤是:
(l) 将游码移到标尺左端的零刻度 ;
(2) 调节平衡螺母,使指针指到分度盘的中央位置,或在中央位置左右偏转的格数相同 .

考点: 天平的使用。
专题: 实验题;定性思想。
分析: 调节天平横梁平衡的方法:
首先把天平放在水平桌面上,游码移到标尺左端的零刻度,调节横梁两端的平衡螺母,使指针指到分度盘的中央位置,或在中央位置左右偏转的格数相同.
解答: 解:(1)天平已经放在水平桌面上,还要把游码移到标尺左端的零刻度.
(2)调节天平的横梁平衡:调节平衡螺母,使指针指到分度盘的中央位置,或在中央位置左右偏转的格数相同.
故答案为:(1)将游码移到标尺左端的零刻度;(2)调节平衡螺母,使指针指到分度盘的中央位置,或在中央位置左右偏转的格数相同.
点评: (1)无论实验步骤详略如何,都要按照细致的步骤去对照,进行填空、或找出错误步骤等.
(2)指针在分度盘中央位置左右偏转的格数相同,是判断天平横梁的简单方法.
19.(2012•安徽)图示为探究“物体动能的大小跟哪些因素有关”的实验.实验步骤如下:
Ⅰ.让同一钢球从斜面上不同的高度由静止滚下,观察木块被撞击后移动的距离.
Ⅱ.让不同质量的钢球从斜面上相同的高度由静止滚下,观察木块被撞击后移动的距离.
回答下列问题:
(1)步骤Ⅰ是为了研究动能大小与 速度 的关系.
(2)步骤Ⅱ是为了研究动能大小与 质量 的关系.
(3)该实验中斜面的作用是为了控制钢球 速度 的大小,木块的作用是为了比较钢球 动能 的大小.

考点: 探究影响物体动能大小的因素。
专题: 实验探究题;控制变量法;转换法。
分析: (1)让同一小球从不同的高度由静止滚下,高度不同,小球到达水平面速度不同,所以同一小球从不同高度滚下,是为了在质量相同时,改变速度,来探究动能和速度的关系.
(2)不同质量的小球从同一高度静止滚下,为了获得相同的速度,所以不同质量的小球在同一高度由静止滚下,是为了在速度相同时,改变质量,来探究动能跟质量的关系.
(3)斜面的作用是为了使小球从相同的高度由静止滚下获得相同的速度,或从不同的高度由静止滚下获得不同的速度,斜面是为了控制钢球的速度大小.
小球推动木块运动越远,小球的动能越大,用木块运动的距离来反映小球的动能大小.
解答: 解:(1)让同一钢球从斜面不同的高度由静止滚下,控制了钢球的质量,改变的是钢球到达水平面的速度,因此探究的是动能大小与速度的关系.
(2)让不同质量的钢球,从斜面相同的高度由静止滚下,控制了钢球到达水平面的速度,改变的是钢球的质量,因此探究的是动能与质量的关系.
(3)该实验中斜面的作用是控制钢球滚到水平面的速度.钢球推动木块运动的距离,来比较钢球动能大小,这里采用了转换法的思想.
故答案为:(1)速度;(2)质量;(3)速度;动能.
点评: 明确本实验中研究动能大小的决定因素时,运用了控制变量法,反映动能多少时运用了转换法.
20.(2012•安徽)李明同学设计了图示电路测量小灯泡的电功率.
(1)根据图示电路(实物图),在方框内画出电路图.
(2)闭合开羊前.滑动变阻器的滑片应移至 A (选填“A”或“B”)端.
(3)实验时,电压表的示数为U,电流表的示数为I,该同学利用P=UI计算出小灯泡的电功率.若考虑电表的电阻对测量的影响,则电功率的测量结果与真实值相比偏 大 (选填“大”或“小”),原因是 电流值偏大 .
考点: 探究用电器的电功率实验。
专题: 实验题;作图题。
分析: (1)分析电路结构,明确各电路元件的连接方式,根据实物电路图画出电路图;
(2)为保护电路,闭合开关前,滑动变阻器接入电路的阻值应为滑动变阻器的最大阻值,
根据滑动变阻器的接法确定滑片的位置;
(3)根据电压表与电流表所测量的量,分析电压与电流的测量值与真实值间的关系,然后
判断电功率的测量值与真实值间的关系.
解答: 解:(1)根据实物图画出电路图,电路图如图所示;
故答案为:电路图如图所示.
(2)由电路图知,当滑动变阻器滑片在A端时,滑动变阻器接入电路的阻值为最大阻值,因此闭合开关前,滑动变阻器滑片应移至A端;
故答案为:A.
(3)由电路图知,电压表并联在灯泡两端,电压表的测量值U与真实值相等;
电流表测的是流过灯泡与流过电压表的电流之和,电流表的测量值I比真实值大,
因此由P=UI求出的测量值比真实值大;
故答案为:大;电流表的测量值偏大.

点评: 本题考查了根据实物图画电路图、滑动变阻器的调节、分析电功率的测量值与真实值间的关系等问题;
分析清楚电路结构、明确各电路元件的连接方式是正确解题的关键.
四、计算与推导题(第21小题6分,第22小题8分,第23小题9分,共23分;解答要有必要的公式和解答过程,只有最后答案的不能得分)
21.(2012•安徽)一辆小汽车在平直公路上匀速行驶,发动机的牵引力为2000N,速度为108km/h.
(1)求小汽车匀速行驶时受到的阻力大小.
(2)求牵引力在10min内所做的功.
(3)若发动机的牵引力用F表示,小汽车的速度用v表示,请推导出牵引力的功率P=Fv.
考点: 功的计算;二力平衡条件的应用;功率的计算。
专题: 计算题;应用题。
分析: (1)因为轿车匀速行驶,所以汽车所受的阻力与牵引力是一对平衡力,由二力平衡条件可得出阻力的大小;
(2)根据s=vt求出汽车行驶的距离,根据W=Fs求出引力在10min内所做的功;
(3)根据做功公式、功率公式和速度公式即可推导出功率的表达式.
解答: 解:(1)因为轿车匀速行驶时,受到的阻力和牵引力是一对平衡力,
所以受到的阻力f=F=2000N;
答:小汽车匀速行驶时受到的阻力为2000N.
(2)汽车行驶的距离:
s=vt=
m/s×600s=18000m,
牵引力在10min内所做的功:
W=Fs=2000N×18000m=3.6×107J;
答:牵引力在10min内所做的功3.6×107J.
(3)根据功率公式P=
,做功公式W=Fs,速度公式v=
得,
进行推导就会得出P=
=
=Fv.
点评: 本题综合考查了二力平衡条件的应用,功和功率的计算,这三个内容相互之间联系比较紧密;功率的变形公式P=Fv在机车行驶问题中常遇到,要灵活的应用.
22.(2012•安徽)某同学家的电子式电能表上个月月初、月末的表盘如图所示.表盘上
“1600imp/kw•h”表示每用电1kw•h指示灯闪烁1600次.根据表盘上的信息,回答下列问题:
(1)该同学家上个月共用电多少kw•h?
(2)该同学家同时使用的用电器总功率不得超过多少?
(3)若只让一个标有“220V 484W”的电热器工作3min,观察到电能表的指示灯闪烁了32次,则该同学家的实际电压是多大?(设电热器的电阻不变)

考点: 电能表参数的理解与电能的求法。
专题: 计算题。
分析: (1)知道电能表的读数方法:(1)月末的减去月初的示数.(2)最后一位是小数.(3)单位kW•h.
(2)“220V”表示这个电能表的额定电压,“10A”表示电能表的标定电流,从而可利用公式P=UI计算电能表正常工作时的最大功率.
(3)“1600imp/kw•h”表示每用电1kw•h指示灯闪烁1600次,可求出指示灯闪烁32次消耗的电能,知道工作时间,可利用公式P=
计算出电热器的实际功率,又知道电热器的额定电压和额定功率,可利用公式R=
计算出电热器的电阻,最后再利用公式P=
计算出该同学家的实际电压.
解答: 解:(1)本月消耗的电能:W=12614.6kw•h﹣12519.6kw•h=95kw•h.
(2)∵“220V”表示这个电能表的额定电压,“10A”表示电能表的标定电流,
∴电能表正常工作时的最大功率为:P=UI=220V×10A=2200W.
(3)∵电能表的指示灯闪烁了32次,
∴电热器消耗的电能为:W=
=0.02kw•h=7.2×104J,
而t=3min=180s,
∴电热器的实际功率为:P=
=
=400W,
又∵U额=220V,P额=484W,
∴电热器的电阻为:R=
=
=100Ω,
而P=
,
∴该同学家的实际电压为:U实=
=
=200V.
答:(1)该同学家上个月共用电95kw•h.
(2)该同学家同时使用的用电器总功率不得超过2200W.
(3)该同学家的实际电压是200V.
点评: 本题考查对电能表各参数的理解以及电功率和电能的计算,关键是对电能表各参数的正确理解以及公式及其变形的灵活运用,还要知道各物理量单位的换算.特别是公式P=
以及其公式变形在电学计算中经常用到.
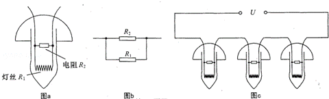
23.(2012•安徽)有一种装饰用的小彩灯,如图a所示,它的内部是由一个定值电阻与灯丝并联而成,等效电路如图b所示.已知灯丝的电阻R1=10Ω,定值电阻R2=1000Ω,
(1)求这个小彩灯的电阻.(结果保留一位小数)
(2)若将一个小彩灯接在电压为l.5V的电源两端,求通过灯丝R1的电流大小.
(3)如图c所示,将数十个小彩灯串联后接在电压为U的电源两端,均正常发光(图中只画出3个,其他未画出).若其中一个灯的灯丝断了,其他小彩灯的亮度如何变化?写出你的判断依据.

考点: 欧姆定律的应用;电阻的并联;电功率的计算。
专题: 计算题;应用题。
分析: (1)根据电阻的并联特点求出这个小彩灯的电阻;
(2)根据并联电路的电压特点和欧姆定律求出通过灯丝R1的电流大小;
(3)当灯丝断了则电阻R2串联如电路中,总电阻变大,根据欧姆定律可知电路中电流的变化,根据P=I2R可知其他灯泡实际功率的变化,根据灯泡的亮暗取决于实际功率的大小可知灯泡亮暗的变化.
解答: 解:(1)这个小彩灯的电阻:
R=
=
≈9.9Ω;
答:这个小彩灯的电阻约为9.9Ω.
(2)通过灯丝R1的电流:
I=
=
=0.15A;
答:通过灯丝R1的电流约为0.15A.
(3)其他灯泡变暗;
判断依据:当其中一个灯泡的灯丝断了,该灯泡的电阻变大,其他小彩灯的电阻不变,
总电压不变,与该灯泡串联的其他每个小彩灯分得的电压变小、功率变小、灯泡变暗.
点评: 本题考查了并联电路的特点和欧姆定律的应用以及灯丝断了时电路现象的判断,关键是连接灯泡两电阻并联的理解和应用.
