(单词翻译:单击)
一、单项选择题(本题共18个小题,每小题2分,共36分)
1.(2分)(2014•巴中)下列说法中与实际情况不相符的是( )
A.小明同学在1分钟内骑自行车行驶了300m
B.一位中学生的体重正常情况下约为500N
C.一盏家用日光灯正常工作的电流约为3A
D.人体感觉最适宜的温度约为23℃
考点:速度与物体运动;温度;重力大小的估测;电流的大小.
专题:估算综合应用题.
分析:根据生活经验分别对各选项中的物理量进行估测,然后和题干中对照,看题干中所给数值大小是否正确.
解答:解:A、人骑自行车大约每小时行18千米,即1分钟行驶300m,符合实际;
B、一名中学生的质量约50kg,根据G=mg=
50kg×10N/kg=500N,符合实际;
C、一盏家用日光灯功率大约40W,其正常工作的电流I==
=0.18A,3A的电流太大,不符合实际;
D、人体感觉适宜的温度约为23℃,符合实际;
故选C.
点评:此题的难点在于对生活中常见事物质量的估测,这是易错的地方,这要求我们对于生活中的物体要多观察,多思考.
2.(2分)(2014•巴中)关于声现象的说法正确的是( )
A.只要物体在振动,我们就能听到声音
B.振动停止,声音消失
C.余音绕梁,三日不绝,这是回声现象
D.高速公路两旁的隔音板是为了防止噪声的产生
考点:防治噪声的途径;回声;人耳感知声音的过程及听到声音的条件.
专题:声现象.
分析:明确选项中的描述所涉及的声学知识,再逐一做出分析与判断即可.
解答:解:
A、人耳听到声音是有条件的,只有达到一定响度且频率在20~2
0000Hz的声音人耳才能听到,故A错误;
B、振动停止,发声停止,但声音并不一定完全消失,它可能还在继续传播中,故B错误;
C、余音绕梁,三日不绝,是声音的反射形成的,这是回声现象,故C正确;
D、高速公路两旁的隔音板是在传播中减弱噪声,而不是为了防止噪声的产生,故D错误.
故选C.
点评:本题考查了与声现象有关的几个基础的知识点,联系实例,运用相关的知识进行判断即可顺利解答,难度不大.
3.(2分)(2014•巴中)下列属于光的折射现象的是( )
A.坐井观天,所见甚小
B.从鱼缸侧面看鱼,发现鱼会变大
C.“猪八戒”照镜子,里外不是人
D.漫步在巴河的滨江大道,看到岸边垂柳在水中的倒影
考点:光的折射现象及其应用.
专题:光的折射、光的色散.
分析:折射现象是指光从一种介质斜射入另一种介质时,光线发生偏折的现象,根据选项中的实例进行判断即可.
解答:解:A、坐井观天,所见甚小,是因为光的直线传播造成的,故不合题意;
B、从鱼缸侧面看鱼,发现鱼会变大,是因为鱼缸和水起到了放大镜的作用,属光的折射现象,符合题意;
C、“猪八戒”照镜子,里外不是人,是平面镜成像,是光的反射形成的,故不合题意;
D、漫步在巴河的滨江大道,看到岸边垂柳在水中的倒影,这是平面镜成像,是光的反射形成的,故不合题意.
故选B.
点评:光的传播有关的现象包括光的直线传播、光的反射、光的折射,熟知相关的实例,并能与具体知识相结合,是解答此类题的关键.
4.(2分)(2014•巴中)关于物态变化说法中不正确的是( )
A.秋天的早晨花草树叶上出现露珠,这是液化现象
B.人们常用酒精为高烧病人降温,说明蒸发具有制冷的作用
C.在寒冷的冬天,光雾山上出现奇形异状的雾凇景观,这是凝华现象
D.春天冰雪消融,这是升华现象
考点:液化及液化现象;汽化及汽化吸热的特点;生活中的升华现象;生活中的凝华现象.
专题:汽化和液化、升华和凝华.
分析:自然界中存在三种状态:固态、液态、气态.物质从气态变成液态叫液化,物质从液态变成气态叫汽化,物质从气态直接变为固态叫凝华,物质从固态直接变为气态叫升华,物质从固态变为液态叫熔化,物质由液态变为固态叫凝固.其中熔化、汽化、升华需要吸热,凝固、液化、凝华要放热,据此分析回答.
解答:解:A、秋天的早晨花草树叶上出现露珠,这是空气中的水蒸气遇冷液化而成的;正确
;
B、用酒精为高烧病人降温,利用酒精蒸发吸热,正确;
C、雾凇这是空气中的水蒸气遇冷凝华而成的;正确;
D、春天冰雪消融,是熔化现象,错误,但符合题意;
故选D
点评:分析物态变化时,首先分析生成物的状态,然后看是由什么状态形成的,最后得出物态变化的名称,同时记住它们的吸放热.
5.(2分)(2014•巴中)如图所示,给试管里的水加热,水沸腾后,水蒸气推动活塞迅速冲出试管口,水蒸气在这个过程中( )

A.内能减少,温度不变,在试管口液化成小水滴
B.内能增加,温度降低,在试管口变成白色的热空气
C.内能增加,温度升高,在试管口变成白色的烟雾
D.内能减少,温度降低,在试管口液化成小水滴
考点:做功改变物体内能;液化及液化现象.
专题:热和能.
分析:(1)做功可以改变物体的内能,对物体做功,物体内能增加;物体对外做功,内能减小.
(2)物质由气态变成液态的过程叫做液化,气体降低温度可以液化.
解答:解:给试管里的水加热,水沸腾后,水蒸气推动塞子迅速冲出管口,在这个过程中,水蒸气对外做功,内能减小,温度降低,在试管口液化成小水滴.
故选D.
点评:做功改变内能的实质就是内能和其它形式能的转化,物体对外做功,内能转化成机械能,内能减小,温度降低.
6.(2分)(2014•巴中)由Q=cm(t﹣t0)得c=
,关于同一种物质的比热容,下列说法正确的是( )
A.若质量增大一倍,则比热容减小一半
B.若质量增大一倍,则比热容增大一倍
C.比热容与物体质量多少、温度变化大小、吸热或放热的多少都无关
D.若吸收的热量增大一倍,比热容增大一倍
考点:比热容的概念.
专题:比热容、热机、热值.
分析:比热容是物质的本质特性,它不会随物质吸收的热量,质量,温度的改变而改变.
解答:解:比热容是物质本身的一种特性,在状态和物质种类一定时,比热容大小与物体吸放热、温度变化大小、质量多少都没有关系.故ABD不正确.
故选C.
点评:本题考查学生对比热容概念的理解.需要清楚的是c=
是比热容的计算式,而不是决定式.
7.(2分)(2014•巴中)如图所示,物体运动状态发生改变的是( )
A. |
弯道上沿曲线滑行的运动员 | B. |
吊在天花板下的静止电灯 | |
C. |
路上匀速直线行驶的小车 | D. |
空中匀速直线下落的降落伞 |
考点:力的作用效果.
专题:应用题;压轴题;图析法.
分析:所谓物体运动状态的改变,指的是运动速度的改变,包括以下几种情况:
(1)速度大小发生改变而方向不变;
(2)速度大小不发生改变而方向改变;
(3)速度大小以及方向都发生改变;
结合四个选项进行判断.
解答:解:A、弯道上沿曲线滑行的运动员,速度和方向时刻在变,即运动状态发生改变,符合题意;
B、吊在天花板下的静止电灯,由于处于静止状态,速度的大小和方向都不变,即运动状态不变,不符合题意;
C、路上匀速直线行驶的小车,速度和方向都不变,即运动状态不发生改变,不符合题意;
D、空中匀速直线下落的降落伞,速度和方向都不变,即运动状态不发生改变,不符合题意.
故选A.
点评:解决此类题目可从结果出发进行判断:当物体的运动速度大小和方向都不变时,即物体的运动状态不发生改变;当物体的运动速度大小或者方向改变时,物体的运动状态发生改变.
8.(2分)(2014•巴中)现有甲、乙两个完全相同的容器,盛有体积相同的盐水,把一个鸡蛋分别放入两容器中的情形如图所示,鸡蛋在甲、乙两杯液体所受浮力分别为F甲浮、F乙浮,两杯液体对底部的压力、压强分别是F甲、F乙,P甲、P乙,下列说法正确的( )

A.F甲浮<F乙浮 F甲=F乙 P甲<P乙 B.F甲浮=F乙浮 F甲>F乙 P甲>P乙
C.F甲浮>F乙浮 F甲<F乙 P甲<P乙 D.F甲浮=F乙浮 F甲<F乙 P甲>P乙
考点:压强大小比较.
专题:压强、液体的压强.
分析:(1)根据物体的悬浮条件和浮沉条件判断鸡蛋在甲、乙两杯中所受浮力大小关
系;
(2)鸡蛋在甲杯盐水中悬浮,盐水对容器底的压力等于鸡蛋重加上盐水重;鸡蛋在乙杯盐水中漂浮,盐水对容器底的压力等于鸡蛋重
加上盐水重;而容器相同、容器底面积相同,再根据压强公式p=得出盐水对容器底部的压强关系.
解答:解:
(1)鸡蛋漂浮在甲杯中,受到盐水的浮力等于鸡蛋重力;鸡蛋悬浮在乙杯中,受到盐水的浮力也等于鸡蛋重力;
所以鸡蛋在甲、乙两杯中所受浮力大小相等,即:F甲浮=F乙浮;
(2)鸡蛋在甲杯盐水中漂浮,盐水对容器底的压力:
F甲=G鸡蛋+G甲盐水=G鸡蛋+m甲盐水g=G鸡蛋+ρ甲Vg,
鸡蛋在乙杯盐水中悬浮,盐水对容器底的压力:
F乙=G鸡蛋+G乙盐水=G鸡蛋+m乙盐水g=G鸡蛋+ρ乙Vg,
∵F甲浮=F乙浮;
∴ρ甲>ρ乙,
∴液体对容器底的压力:
F甲>F乙,
因为容器相同、容器底面积相同,
由压强公式p=可知盐水对容器底部的压强相等,即:p甲>p乙.
综上分析,ACD错误,B正确.
故选B.
点评:本题易错点在第二问,要注意两盐水的密度不同,利用好“柱形容器中液体对容器底的压力等于液体重力”是本题的关键.
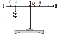
9.(2分)(2014•巴中)如图所示,O为杠杆MN的支点,OM:ON=3:4,物块A和B分别挂在M、N两端,杠杆恰好平衡,已知物块A、B的体积之比为2:1,则A、B两物体物质的密度之比是( )

A.3:2 B.4:3 C.2:3 D.3:4
考点:杠杆的平衡分析法及其应用.
专题:计算题;简单机械.
分析:①已知力臂比例关系,根据杠杆平衡条件可以得到两物体对杠杆的拉力之比,也就是两物体的重力之比,进一步得到质量关系;
②已知两物体质量之比和体积之比,利用公式ρ=得到两物体密度之比.
解答:解:
∵F1L1=F2L2,
∴GA•OM=GB•ON,
mAg•OM=mBg•ON,
mA•OM=mB•ON,
∴
=
=,
∵ρ=,
∴
=
=
×
=×=.
故选C.
点评:比值的计算是物理中常见的题型,解题时的方法是,明确需求量和已知量之间的关系,找出相应的关系式,然后条理清楚地进行运算,切不可凭想象心算.
10.(2分)(2014•巴中)关于功、功率、机械效率说法正确的是( )
A.功率越大,做功越快,机械效率越大
B.做功越少,功率越小,机械效率越小
C.功率越大,反映做功越快,与机械效率无关
D.机械效率越大,表明它做的功越多
考点:功;机械效率;功率的概念.
专题:功、功率、机械效率.
分析:根据功、功率、机械效率的关系分析.功率是单位时间内做的功的多少,是表示做功快慢的物理量;机械效率是有用功与总功的比值.
解答:解:功率是单位时间内做的功的多少,是表示做功快慢的物理量,大小与做功多少和时间有关;机械效率是有用功与总功的比值.
A、功率大,说明做功快,但不能说明机械效率越大,故A错;
B、功率与做功多少和时间有关,做功少,功率不一定小,机械效率不一定小,故B错;
C、功率越大,反映做功越快,与机械效率无关,正确;
D、机械效率越大,说明有用功与总功的比值大,做功不一定多,故D错;
故选C.
点评:本题考查了功、功率、机械效率的关系.功率由功和时间共同决定,机械效率由有用功和总功共同决定.
11.(2分)(2014•巴中)如图所示,两只额定电压相同的灯泡L1、L2,串联在电路中,闭合开关后发现,L1不亮,L2亮,电压表有一定的示数,其原因可能是( )

A.L1的灯丝烧断 B.L1的电阻小于L2的电阻
C.L2的实际功率小于L1的实际功率 D.L2的额定功率大于L1的额定功率
考点:电流表、电压表在判断电路故障中的应用.
专题:电流和电路.
分析:(1)串联电路中,当一处发生断路时,整个电路不能工作;
(2)串联电路中,电流处处相等;而灯泡的亮度由其实际功率决定,由电功率的计算式P=I2R可知,在电流一定时,实际功率大的电阻较大,即亮度大的阻值大,其两端的实际电压大;
(2)已知两灯的额定电压相等,由公式P=
可知,在额定电压一定时,电阻越大,额定功率越小.根据上述分析对各选项逐一判断即可.
解答:解:A、如果灯泡L1的灯丝烧断,则灯泡L2也不会亮,故A错误;
B、根据电路图可知,两灯泡串联,L2亮,说明电路为通路;电压表测量L1两端电压,电压表有示数,说明L1完好,灯泡L1不亮,说明灯泡L1的实际功率太小,由P=I2R知,电流相同时,功率越小,阻值越小,因此灯L1的阻值要小于灯L2的阻值;故B正确;
C、综合B选项中的分析可知,L1不亮,L2亮,说明L2的实际功率较大,L1的实际功率较小,故C错误;
D、由B分析可知:R1<R2,那么在额定电压相同时,由P=
可得出阻值越大,其额定功率越小,即灯L1的额定功率要大于灯L2的额定功率,故D错误.
故选B.
点评:知道灯泡的亮度取决于灯泡的实际功率是正确解题的前提与关键,熟练应用串联电路的特点、功率公式及欧姆定律即可解题.
12.(2分)(2014•巴中)如图所示的电路图中,要使灯泡L1和L2组成并联电路,应该是( )

A.只闭合S3 B.同时闭合S1和S3,断开S2
C.同时闭合S1和S2,断开S3 D.只闭合S2
考点:电路的基本连接方式.
专题:电流和电路.
分析:电路元件的连接有串联和并联两种方式:由于串联电路只有一条电流路径,流过一个元件的电流同时流过另一个元件,因此各元件相互影响;而并联电路中有多条支路,所以各元件独立工作、互不影响.在进行电路连接时,还一定要注意不能出现电源短路.
解答:解:
A、只闭合S3时电流只有一条路径,是L2的简单的电路,不合题意;
B、同时闭合S1和S3,断开S2时,电流有两条路径,分别流经灯泡L1和L2,属并联电路,符合题意;
C、同时闭合S1和S2时电流会不经用电器直接从电源正极流向负极,属电源短路,是错误的,不合题意;
D、只闭合S2时电流只有一条路径,电流依次流过L2、L1和开关S2,属串联电路,不合题意.
故选B.
点评:解决此类问题要结合串联电路和并联电路的特点,结合题意选择合适的开关组成符合题意的电路图.
13.(2分)(2014•巴中)如图所示的电路中,当滑片向左滑动时,两电表的示数变化及灯泡L的亮度变化正确的是( )

A.
表变大,
表变小,灯L变暗 B.
表变小,
表变大,灯L变亮
C.
表变大,
表不变,灯L亮度不变 D.
表变小,
表不变,灯L亮度不变
考点:电路的动态分析.
专题:电路变化分析综合题.
分析:根据电路图可知,灯泡与滑动变阻器串联,电压表测量滑动变阻器右部分电阻的电压;先根据滑片的移动确定电路总电阻的变化,然后根据欧姆定律判断电路电流的变化,再根据P=I2R判断灯泡实际功率的变化,最后根据滑片移动的方向以及U=IR判断电压表示数的变化.
解答:解:根据电路图可知,灯泡与滑动变阻器的最大阻值串联,当滑片移动时,电路中的总电阻不发生改变,因此电路中的电流不变,即电流表示数不变;故AB错误;
根据P=I2R可知,灯泡的实际不变,因此灯泡的亮度不变;
当滑片向左移动时,滑动变阻器右半部分电阻变大,即电压表测量的阻值变大,由U=IR可知,电压表的示数变大,故C正确,D错误.
故选C.
点评:本题考查动态电路分析,关键是明确电路的结构以及电流表和电压表测量的对象,并且会灵活应用功率计算公式和欧姆定律的应用.
14.(2分)(2014•巴中)关于能源利用说法中正确的是( )
A.煤、石油、太阳能都是不可再生资源
B.风能、太阳能是绿色能源应大力开发利用
C.核电站是利用原子核聚变所释放的能量来发电
D.火箭发射利用的燃料是液态氢,是因为它含有的热量多
考点:能源的分类;燃料的热值;核电站发电过程中的能量转化.
专题:热和能.
分析:(1)使用之后可以在短时间内从自然界中再次产生的能源是可再生能源,使用之后在短时间内无法在自然界中再次产生的能源是不可再生能源;
(2)可再生能源是能在短时间内形成的能源,可再生资源特点是不污染环境,取之不尽用之不竭;
(3)核电站是利用铀原子核裂变时放出的核能来发电的;
(4)运载火箭采用液态氢作为火箭的燃料,原因是液态氢具有较高的热值,完全燃烧相同质量的氢时,可以释放出更多的热量.
解答:解:
A、煤、石油使用之后在短时间内无法在自然界中再次产生的能源是不可再生能源,所以A错误;
B、风能、太阳能属于可再生能源,使用起来环保无污染,所以B正确;
C、核电站是利用原子核裂变所释放的能量来发电,所以C错误;
D、火箭发射利用的燃料是液态氢,是因为它的热值高,所以D错误.
故选B.
点评:本题主要考查能源的分类、对核能利用情况的了解,以及液态氢燃料的特点,这些知识点都属于基础知识,要熟练掌握.
15.(2分)(2014•巴中)近一年来在我们的生活中,4G手机通信业务已经逐渐推广,使用4G手机不仅通话信号好,还要在无线网络上网时效果更佳.下列说法正确的是( )
A.电磁波和声波在空气中的传播速度都是3×102km/s
B.电磁波和声波都是由物体振动产生的
C.手机无线上网是利用电磁波传输信息
D.电磁波能传递能量,声波不能传递能量
考点:电磁波的传播;移动通信.
专题:信息的传递.
分析:(1)迅速变化的电流周围产生电磁波,且电磁波在真空中的传播速度和光速相等,都是3×108m/s.
(2)电磁波能够传递信息,也能传递能量.
解答:解:A、声波在空气中的传播速度是340m/s,电磁波在空气中的传播速度是3×108m/s,该选项说法不正确;
B、电磁波是由变化的电流产生的,而声波是由物体的振动产生的,该选项说法不正确;
C、手机无线上网是利用电磁波传输
信息,该选项说法正确;
D、电磁波和声波都能传递能量,该选项说法不正确.
故选C.
点评:本题考查了电磁波和声波的特点,对比记忆加深印象,属于基础知识的考查.
16.(2分)(2014•巴中)有关力与运动的关系,下列说法中正确的是( )
A.有力作用在物体上,物体就运动
B.力能改变物体的运动状态,它的三要素影响力的作用效果
C.物体所受的合力为零,该物体一定处于静止状态
D.没有力的作用,运动的物体会慢慢停下来
考点:力与运动的关系.
专题:运动和力.
分析:(1)物体的运动不需要力来维持,力是改变物体运动状态的原因;
(2)物体受平衡力作用,物体处于平衡状态,物体静止或做匀速直线运动.
解答:解:A、物体受非平衡力作用,物体将运动;受平衡力作用,物体会静止,此选项错误;
B、力能改变物体的运动状态,它的三要素影响力的作用效,此选项正确;
C、物体受到合力为零,受平衡力作用,原来静止的物体会静止;原来运动的物体将做匀速直线运动,此选项错误;
D、运动的物体如果不受力,将做匀速直线运动,此选项错误;
故选B.
点评:本题考查了力与运动的关系,应知道:力是改变物体运动状态的原因,不是维持物体运动状态的原因.
17.(2分)(2014•巴中)如图所示电路连接中,当开关S闭合时,下列说法正确的是( )

A.螺线管上端S极,滑片P向左移,弹簧测力计示数增大
B.螺线管上端N极,滑片P向左移,弹簧测力计示数减小
C.螺线管上端S极,滑片P向右移,弹簧测力计示数增大
D.螺线管上端N极,滑片P向右移,弹簧测力计示数减小
考点:通电螺线管的磁场.
专题:磁现象、电生磁.
分析:利用安培右手定则判断出通电螺线管的NS极,再根据同名磁极相互排斥,异名磁极相互吸引的作用规律判断弹簧测力计示数的变化.
解答:解:闭合开关后,电流从通电螺线管的左流向右,利用右手定则可知通电螺线管的上端为S极,下端为N极,已知测力计下磁体下端为N极,则异名磁极相互吸引,当滑片向左移动时,电流增大,则磁性增强,测力计示数变大.
故选:A.
点评:此题主要考查学生对于安培定则的理解和掌握.
18.(2分)(2014•巴中)在生活用电中,下列符合安全用电要求的是( )
A.可接触低压带电体,不靠近高压带电体
B.多个大功率用电器同时使用一个插座
C.用手握住测电笔的金属杆判断插座是否有电
D.有金属外壳的家用电器使用三脚插头
考点:安全用电原则.
专题:电与热、生活用电.
分析:(1)安全用电原则:不接触低压带电体,不靠近高压带电体;
(2)电路中电流过大的原因有两个:一是短路;二是家中使用用电器的总功率过大;
(3)使用测电笔时,笔尖接触要检测的导线,手接触笔尾金属体,才能在接触火线时氖管发光;
(4)带有金属外壳的用电器,必须使用三孔插座,以防外壳带电,危及人身安全.
解答:解:A、安全用电原则:不接触低压带电体,不靠近高压带电体,故A不符合安全用电要求;
B、大功率用电器同时使用时,将会使电路中的电流过大,引起火灾.故B不符合安全用电要求;
C、用手握住测电笔的金属杆判断插座是否有电会造成触电事故,故C不符合安全用电要求;
D、有金属外壳的用电器,使用三脚插头,使用电器外壳接地,防止用电器外壳带电危及人身安全,故D符合安全用电要求.
故选D.
点评:本题考查的是日常生活中的一些安全用电常识,要掌握安全用电的原则.
二、填空题(每空1分,共20分
)
19.(4分)(2014•巴中)两电阻R1=6Ω,R2=9Ω,当它们串联接在电源电压为3V的电路两端,通过它们的电流I= 0.2 A,加在R1、R2两端的电压之比U1:U2= 2:3 ;当R1、R2并联接在原电路中,通过R1、R2的电流之比I1:I2= 3:2 ,通过R1、R2的发热之比Q1:Q2= 3:2 .
考点:欧姆定律的应用;焦耳定律.
专题:欧姆定律.
分析:(1)两电阻串联时通过它们的电流相等,根据I=
可求得通过它们的电流;
根据欧姆定律求出
两电阻两端的电压之比,再根据串联电路的电压特点求出R2两端的电压与电路的总电压之比;
(2)两电阻并联时两端的电压相等,根据欧姆定律求出通过它们的电流之比,根据Q=W=
t求出在相同的时间内电流通过R1、R2所产生的热量之比..
解答:解:两电阻R1=6Ω,R2=9Ω,当它们串联接在电源电压为3V的电路两端,
总电阻R总=R1+R2=6Ω+9Ω=15Ω,
通过它们的电流I=
=
=0.2A;
由I=可得,两电阻串联时两端的电压之比:
=
=
=
=,
(2)∵并联电路中各支路两端的电压相等,
∴两电阻并联时,通过它们的电流之比:
=
=
=
=,
当电阻R1、R2并联在电路中时,两电阻两端的电压相等,
∵Q=W=
t,
∴
=
=
=
=.
故答案为:0.2;2:3;3:2;3:2.
点评:本题考查了串联电路的电流特点和并联电路的电压特点以及欧姆定律、焦耳定律的灵活应用,灵活运用相关知识是关键.
20.(3分)(2014•巴中)如图所示,一滑轮下端悬吊一个重50N的物体,在拉力F的作用下使物体在2s内上升了2m,(不计滑轮、绳的重力和摩擦)则拉力F= 100 N,动滑轮上升的速度是v= 0.5 m/s,拉力F所做的功W= 100 J.

考点:滑轮组绳子拉力的计算;动滑轮及其工作特点;功的计算.
专题:机械与功.
分析:动滑轮特殊使用时,不省力,所用的力是重物重力的2倍,移动距离是重物移动距离的二分之一;根据速度公式求出动滑轮移动的速度;根据W=Fs即可求出拉力做的功.
解答:解:根据图示可知:该滑轮动滑轮的特殊使用方法,根据动滑轮的特点可知:F=2G,则F=2×50N=100N;
F移动的距离是物体移动距离的二分之一,则滑轮在2s内移动的距离为1m,故动滑轮上升的速度:v==
=0.5m/s;
拉力所做的功:W=Fs=100N×1m=100J.
故答案为:100;0.5;100.
点评:本题主要考查学生对速度和功的计算,关键是对动滑轮特点的了解和掌握,是一道中档题.
21.(2分)(2014•巴中)一杯质量为2Kg,初温为25℃的水,吸热后温度升高了50℃,所吸收的热量为 4.2×105 J,假若用热值为(q煤=3×107J/kg)的煤来加热需用煤为 14 g(无热量损失).
考点:热平衡方程的应用.
专题:热和能.
分析:知道水的质量、水的比热容、水的初温和末温,利用吸热公式Q吸=cm△t求水吸收的热量;
由题知Q吸=Q放,根据公式Q放=qm求出需要燃烧的煤的质量.
解答:解:水吸收的热量:
Q吸=cm△t=4.2×103J/(kg•℃)×2kg×50℃=4.2×105J,
∵无热量损失,
∴Q吸=Q放=m煤q,
∴m煤=
=
=0.014kg=14g.
故答案为:4.2×105;14.
点评:本题考查学生对吸热公式Q吸=cm△t和Q放=qm的掌握和运用,属于基础题目.
22.(2分)(2014•巴中)如图所示,是小明家的电能表以及该表某月初、月末的两次读数,由图可知,他家在该月消耗的电能为 90 kW•h,他家现已接入用电器的总功率为2000W,则还可连接“220V,60W”的白炽灯 3 盏

考点:电功计算公式的应用;电能表参数的理解与电能的求法.
专题:电能和电功率.
分析:月末与月初电能表的示数之差就是6月份小明家消耗的电能,从电能表上可以看出电路的额定电压和额定电流,根据公式P=UI可求最大功率再减去已经接入的得出可利用的电功率,求其与白炽灯的比值即可.
解答:解:6月份小明家消耗的电能是W=1377.6kw•h﹣1287.6kw•h=90kw•h,
他家可以同时使用的用电器的总功率最大是P=UI=220V×10A=2200W,
现已接入用电器的总功率为2000W,可以利用的电功率为P′=2200W﹣2000W=200W,
所以还可以装入的白炽灯为:n=
=
≈3.
故答案为:90;3.
点评:本题考查消耗电能和电功率的计算,关键是公式的应用,难点是对电能表参数的正确理解.
23.
(1分)(2014•巴中)一运载火箭在加速升空过程中,由 内 能转化成机械能.
考点:能量的相互转化.
专题:机械能及其转化.
分析:火箭发射运行时,是利用燃料燃烧后,将燃料的化学能转化为燃气的内能,然后利用高温高压的燃气膨胀对外做功,将产生的内能转化为火箭的机械能.
解答:解:火箭加速上升过程时,内能转化为火箭的机械能.
故答案为:内.
点评:本题考查能量的转化,对于实际问题,要了解具体情况后结合所学知识解答.
24.(2分)(2014•巴中)甲乙两车以相同的速度同向行驶在江北大道上,以乙车为参照物,甲车是 静止 ,以大道两旁的树木、房屋为参照物,甲乙两车都是 运动 (选填“运动”或“静止”).
考点:参照物及其选择.
专题:长度、时间、速度.
分析:此题研究的汽车的运动状态,以什么物体为参照物是静止的,关键看他与哪个物体之间的位置没有发生变化;以什么物体为参照物是运动的,关键看他与哪个物体之间的位置没发生了变化.
解答:解:甲乙两车以相同的速度同向行驶在江北大道上,以乙车为参照物,甲车和乙车的位置没有发生变化,甲车是静止;
以大道两旁的树木、房屋为参照物,甲乙两的位置发生变化,甲车和乙车车都是运动的.
故答案为:静止;运动.
点评:个物体的运动状态的确定,关键取决于所选取的参照物.所选取的参照物不同,得到的结论也不一定相同.这就是运动和静止的相对性.
25.(2分)(2014•巴中)一柴油机的转速是3000r/min,它
1秒钟对外做功 25 次,它完成吸气冲程时,吸入气缸里的物质是 空气 .
考点:有关热机的计算.
专题:比热容、热机、热值.
分析:(1)热机完成一个工作循环,要经过4个冲程,燃气对外做功1次,活塞往返2次,飞轮转动2周,根据这个比例关系可以求出答案;
(2)柴油机吸入汽缸的只有空气,而汽油机吸入汽缸的是空气和汽油的燃料混合物.
解答:解:(1)飞轮转速是3000r/min=50r/s,表示每秒飞轮转动50圈,对外做功25次;
(2)完成吸气冲程时,吸入气缸里的物质是空气.
故答案为:25;空气.
点评:此题主要考查的是学生对柴油机工作原理的认识和了解,基础性题目.
26.(4分)(2014•巴中)知识应用:
(1)发电机是根据 电磁感应 现象制成的.
(2)酒好不怕巷子深,说明分子是 永不停息的做无规则运动 .
(3)船闸是利用 连通器 原理修建.
(4)小孔成像是根据 光的直线传播 原理形成的.
考点:发电机的构造和原理;连通器原理;光在均匀介质中直线传播;分子的运动.
专题:其他综合题.
分析:(1)发电机的制成原理是电磁感应现象;
(2)一切物质的分子都在永不停息的做无规则运动;
(3)上端开口,底部连通的容器叫连通器.当连通器内为同种液体时,在液体不流动时,各容器内液面相平;
(4)关在同一种均匀介质中沿直线传播.
解答:解:(1)发电机是根据电磁感应现象制成的.
(2)酒好不怕巷子深,说明分子是永不停息的做无规则运动.
(3)船闸是利用连通器原理修建的.
(4)小孔成像是根据光的直线传播原理形成的.
故答案为:(1)电磁感应;(2)永不停息的做无规则运动;(3)连通器;(4)光的直线传播.
点评:本题考查的知识点较多,比较简单,理解和熟记相关的知识点解答容易.
三、作图、实验探究题(共20分)
27.(4分)(2014•巴中)(1)根据题中所给出的滑轮,请在图1中用划线方法画出绕法.(要求所给的滑轮都利用)
(2)请把如图2电路元件接入照明电路中,且符合安全用电原则.(要求保险盒与三孔插座相连
考点:滑轮组的设计与组装;家庭电路的连接.
专题:图像综合题.
分析:(1)要求所给的滑轮组都利用,需从定滑轮绕起,逐个顺次连接,不能重复,最后拉力的方向应该是向上的.
(2)①开关控制灯泡时,首先进入开关,然后进入灯泡顶端的金属点,零线直接进入灯泡的螺旋套,这样灯泡既能工作,在灯泡损坏时,断开开关,切断火线,更换灯泡更安全.
②带保险丝的三孔插座,地线直接进入上孔,零线直接进入左孔,火线首先进入保险丝,然后再进入右孔.
解答:解:(1)如图1所示,滑轮组用4段绳子承担物重.
(2)如图2所示,零线直接连接灯泡的螺旋套,火线进入开关,再进入灯泡顶端的螺旋套;地线直接接三孔插座的上孔,零线直接接三孔插座的左孔,火线首先接保险丝,然后再进入右孔.

点评:(1)绕绳中有几点需要注意,一是要利用到每一只滑轮,二是要注意最终拉力的方向,三是绕绳时要先绕内侧的小滑轮再绕外侧的大滑轮,绕完后,最后确定滑轮组的省力情况.
(2)掌握家庭电路灯泡、开关、两孔插座、三孔插座、保险丝的接法,注重将物理知识联系生活实际.
28.(4分)(2014•巴中)小明同学在探究“平面镜成像的特点”实验时(如图)发现在蜡烛A的另一侧看到两个像,他换了一块 薄玻璃 (选填“薄玻璃”或“厚玻璃”)像就成了一个了;小明移动蜡烛B,使它与像完全重合,确定了 像 的位置.为了研究平面镜所成的是实像还是虚像,小明把光屏放在像的位置,他 不能 (选填“能”或“不能”)在光屏上看到像,由此说明平面镜成的是 虚 (选填“实”或“虚”)像.

考点:平面镜成像的特点、原理、现象及其实验方案.
专题:探究型实验综合题.
分析:(1)探究平面镜成像实验中,要用透明的玻璃板代替平面镜,玻璃板的两个面都会反射成像,因此玻璃板要薄一些较好;
(2)实验时选择两个相同的蜡烛是为了便于比较物像大小关系.
(3)虚像无法在光屏上承接到.
解答:解:(1)在实验时发现在蜡烛A的另一侧看到两个像,这是因为玻璃板的两个面都会反射成像,因此可换一块薄玻璃进行实验就可以了;
(2)实验中,移动蜡烛B,使它与像完全重合,这样可确定像的位置.
(3)为了研究平面镜所成的是实像还是虚像,可以把光屏放在像的位置,如果不能在光屏上看到像,说明平面镜成的是虚像.
故答案为:薄玻璃;像;不能;虚.
点评:本题考查学生动手操作实验的能力并会根据对实验现象的分析得出正确的结论.此类题目在近几年中考中频繁出现,备受出题人青睐,其实解答此类题目往往有规律可循,牢记并紧扣平面镜成像特点可比较容易的进行解答.
29.(4分)(2014•巴中)如图是小明利用刻度均匀的匀质杠杆进行探究“杠杆的平衡条件”实验.(每个钩码重0.5N)
(1)实验前,将杠杆的中点置于支架上,当杠杆静止时,发现杠杆右端下沉,这时应将平衡螺母向 左 (选填“左”或“右”)端调节,直到杠杆在水平位置平衡.
(2)在A点悬挂两个钩码,要使杠杆在水平位置平衡,需在B点悬挂 3 个钩码;取走悬挂在B点的钩码,改用弹簧测力计在C点竖直向上拉,使杠杆水平位置平衡,测力计的拉力为 0.75 N;若改变弹簧测力计拉力的方向,使之斜向右上方,杠杆仍然水平位置平衡,则测力计的读数将 变大 (选填“变大”或“变小”或“不变”).

考点:探究杠杆的平衡条件实验.
专题:探究型实验综合题.
分析:(1)杠杆右端下沉,说明杠杆的重心在支点右侧,调节平衡螺母应使杠杆重心左移,这一调节过程的目的是为了使杠杆的自重对杠杆平衡不产生影响;
(2)根据杠杆平衡条件求出B点、C点的力;阻力和阻力臂不变时,动力臂减小,动力增大.
解答:解:
(1)杠杆重心左移,应将平衡螺母(左端和右端的平衡螺母调节方向一致)向左调节,直至重心移到支点处,使杠杆重力的力臂为零,这样就可忽略杠杆的自重对实验的影响;
(2)一个钩码的重是0.5N,设杠杆一个小格是L,
根据杠杆平衡条件F1L1=F2L2得,1N×3L=FB×2L,∴FB=0.5N,即在B处挂3个钩码.
根据杠杆平衡条件F1L1=F2L2得,1N×3L=FC×4L,∴FC=0.75N.
如改变弹簧测力计拉力的方向,使之斜向左上方,阻力和阻力臂不变,动力臂减小,动力要增大,所以弹簧测力计示数变大,才能使杠杆仍然水平平衡.
故答案为:(1)左;(2)3;0.75;变大.
点评:杠杆在水平位置平衡,力要竖直作用在杠杆上,力臂才在杠杆上,否则力臂不在杠杆上.
30.(8分)(2014•巴中)在“测量小灯泡电功率”的实验中,电源电压为3V,小灯泡额定电压为2.5V,小灯泡电阻约为10Ω.

(1)请你用笔画线代替导线,将图甲中的实验电路连接完善(要求滑片向左移动时灯泡变暗).
(2)小明同学连接好最后一根导线后,闭合开关,他发现无论怎样移动滑片,灯泡都很暗,且两表示数不变,出现上述故障的原因可能是:① 电源电压太小 ;② 滑动变阻器同时接下面两个接线柱 .
(3)故障排除后,小明同学闭合开关,移动滑动变阻器的滑片到某点,电压表的示数如图乙所示,为 2 V.若他想测量小灯泡的额定功率,应将图甲中的滑片向 右 (选填“左”或“右”)端移动,使电压表示数为2.5V.
(4)他又移动滑片,记下了几组对应的电压表和电流表的示数,并绘制成图丙所示的l﹣U图象,根据图象信息可以计算出小灯泡的额定功率是 0.75 W.
(5)他利用已测出的几组数据求出了小灯泡的电阻,发现小灯泡的电阻值是变化的,产生这一现象的原因是 灯泡电阻受温度影响,随温度的升高而增大 .
(6)在该试验后把小灯泡换成一个定制电阻,还可探究 B 的关系(选填“A”或“B”).
A.电流与电阻 B.电流与电压.
考点:电功率的测量.
专题:测量型实验综合题.
分析:(1)根据实验原理连接实物电路图.
(2)根据电路现象分析原因.
(3)由图示电压表确定其量程与分度值,读出其示数,然后根据电路图确定滑片的移动方向.
(4)由图示图示求出灯泡额定电压对应的电流,然后由P=UI求出灯泡功率.
(5)从温度对电阻的影响分析答题.
(6)根据实验器材分析答题.
解答:解:(1
)滑片向左移动时灯泡变暗,滑动变阻器接右下接线柱,把滑动变阻器串联接入电路,电路图如图所示:

(2)如果电源电压太小或滑动变阻器同时接下面两个接线柱,滑动变阻器被结成定值电阻时,无论怎样移动滑片,灯泡都很暗,且两表示数不变.
(3)由图示电压表可知,其量程为0~3V,分度值为0.1V,示数为2V,小于灯泡额定电压,为测灯泡额定功率,应把滑片向右移动,知道电压表示数等于灯泡额定电压22.5V为止.
(4)由图示图象可知,灯泡额定电压对应的电流是0.3A,灯泡额定功率P=UI=2.5V×0.3A=0.75W.
(5)由于灯泡电阻受温度影响,随温度升高而增大,因此灯泡电阻是变化的.
(6)把灯泡换成定值电阻,改变电阻两端电压测出通过电阻的电流,可以探究电流与电压的关系,故选B.
故答案为:(1)电路图如图所示;(2)电源电压太小;滑动变阻器同时接下面两个接线柱;(3)2;右;(4)0.75;(5)灯泡电阻受温度影响,随温度的升高而增大;(6)B.
点评:本题考查了连接实物电路图、电路故障分析、电表读数、求灯泡功率等问题;对电表读数时要先确定其量程与分度值,然后再读数,读数时视线要与电表刻度线垂直.
四、计算解答题(共14分)
31.(6分)(2014•巴中)一边长为10cm,密度为0.6g/m3的正方体木块,用细线置于容器的水中,如图所示,求:
(1)木块所受的浮力大小?
(2)细线的拉力大小?
(3)细线剪断后,木块静止时,木块下方所受到水的压强是多大?

考点:浮力大小的计算;液体的压强的计算.
专题:压强、液体的压强;浮力.
分析:(1)已知正方体木块的边长,可以计算出体积(排开水的体积),利用阿基米德原理求所受浮力;
(2)木块
受浮力等于拉力加上重力,据此求绳子对木块的拉力;
(3)木块漂浮,浮力等于木块重力,根据浮力的产生原因可知下表面水对木块的压力即浮力,根据p=计算水对木块下表面的压强.
解答:解:(1)∵木块完全浸没,
∴V排=V=(10cm)3=1000cm3=1×10﹣3m3,
F浮=ρ水gV排=1.0×103kg/m3×10N/kg×1×10﹣3m3=10N,
(2)G木=mg=ρVg=0.6×103kg/m3×1×10﹣3m3×10N/kg=6N.
∵F浮=F拉+G,
∴绳子对木块的拉力:F拉=F浮﹣G=10N﹣6N=4N;
(3)木块漂浮在水面上:
F浮=G木=6N;
浮力是液体对物体上下表面的压力差,所以下表面的压力F=F浮=6N,
下表面的压强p==
=600Pa
答:(1)木块所受的浮力为10N;
(2)绳子对木块的拉力为4N;
(3)细线剪断后,木块静止时,木块下方所受到水的压强是600Pa.
点评:木块在水中的浮力要利用浮力的公式来计算,木块漂浮时的浮力要利用漂浮的条件来求,注意公式的选择,因此,解题时选对方法才能起到事半功倍的效果.
32.(8分)(2014•巴中)如图所示是一种家用电烤箱内部结构电路简图,它有高、中、低三个档位,已知R1=120Ω,R2=240Ω,求:
(1)闭合S1、S3,断开S2时,电烤箱处于什么档位?电路中的电流是多大?
(2)闭合S3,断开S1、S2时,通电一分钟电路中电流产生的热量是多大?
(3)当电烤箱处于低温档时,它消耗的电功率是多大?(结果保留一位小数.

考点:欧姆定律的应用;电功率的计算;焦耳定律的计算公式及其应用.
专题:欧姆定律;电能和电功率;电与热、生活用电.
分析:(1)根据P=
可知,闭合S1、S3,断开S2时,R1与R2并联,电路中的电阻最小,电功率最大即为高温档;根据I=求出电烤箱在低温档正常工作时的电流;
(2)由闭合S3,断开S1、S2时,电路为R1的简单电路,则利
用Q
=I2Rt可求通电一分钟电路中电流产生的热量;
(3)闭合S2,断开S1、S3时,R1与R2串联,此时电烤箱处于低档;
根据P=
求得它消耗的电功率.
解答:解:(1)闭合S1、S3,断开S2时,R1与R2并联,电路中总电阻最小,根据P=
可知,电功率最大即为高温档状态:
由I=得I=
=
≈2.75A;
(2)闭合S3,断开S1、S2时,电路为R1的简单电路,由Q=
得Q=
×60s=24200J;
(3)闭合S2,断开S1、S3时,R1与R2串联,此时电烤箱处于低档,
由P总=
得P总=
≈134.4W.
答:(1)闭合S1、S3,断开S2时,电烤箱处于高温档位;电路中的电流是2.75A;
(2)闭合S3,断开S1、S2时,通电一分钟电路中电流产生的热量是24200J;
(3)当电烤箱处于低温档时,它消耗的电功率是134.4W.
点评:本题考查了电阻、电流、电功率、电功的计算,关键是公式及其变形式的灵活运用,难点是根据P=
结合开关的闭合、断开判断电烤箱的工作状态.




