(单词翻译:单击)
一、单项选择题(共12小题,每小题2分,满分24分)
1.(2分)(2014•牡丹江)如果以地面为参照物,静止的物体是( )
A. |
飞奔的猎豹 | B. |
放在桌面上的书 | |
C. |
慢慢爬行的蜗牛 | D. |
站在上升扶梯的人 |
考点: 运动和静止的相对性.
专题: 长度、时间、速度.
分析: 在研究物体的运动情况时,要先选取一个标准做为参照物,研究对象和参照物的位置发生了改变,就是运动的,如果位置没有发生改变,则是静止的.
解答: 解:A、以地面为参照物,飞奔的猎豹相对于地面的位置在发生改变,所以是运动的,不合题意;
B、以地面为参照物,放在桌面上的书相对于地面的位置没有发生改变,所以是静止的,符合题意;
C、以地面为参照物,慢慢爬行的蜗牛相对于地面的位置在发生改变,所以是运动的,不合题意;
D、以地面为参照物,站在上升扶梯的人相对于地面的位置在发生改变,所以是运动的,不合题意.
故选B.
点评: 此题考查了对运动和静止的相对性的理解,同一物体是运动还是静止取决于所选的参照物,与人的主观感觉无关,选择的参照物不同,描述运动的结果可能不同.
2.(2分)(2014•牡丹江)下列有关声现象的说法中,错误的是( )
A. 发声的音叉在振动
B. 桌子可以传声
C. 医生用听诊器诊病是利用声传递能量
D. “禁止鸣笛”可以在声源处控制噪声
考点: 声音的产生;声音的传播条件;防治噪声的途径;声与信息.
专题: 声现象.
分析: 声音是由物体的振动产生的;
声音的传播需要介质;
声音即可以传递信息页可以传递能量;
控制噪声的途径有:在声源处、在传播过程中和在人耳处减弱噪声.
解答: 解:A、一切发声体都在振动,故A正确;
B、固体液体气体都可以作为传播声音的媒介,故B正确;
C、听诊器可以让医生判断病人的状况,所以此时的声音传递的是信息;故C错误;
D、禁止鸣笛是在声源处减弱噪声,故D正确;
故选C.
点评: 本题考查了多个声学的知识点,是中考的常见题型,需要认真对待.
3.(2分)(2014•牡丹江)下列生活中的现象与熔化有关的是( )
A. 饮料中的冰块变小 B. 人从水中出来感到冷
C. 衣柜中的樟脑片变小 D. 冰箱冷冻室内壁上结霜
考点: 熔化与熔化吸热特点;生活中的升华现象;生活中的凝华现象.
专题: 温度计、熔化和凝固;汽化和液化、升华和凝华.
分析: (1)物质由固态变成液态叫做熔化,熔化吸热;物质由液态变成固态叫做凝固,凝固放热;
(2)物质由液态变成气态叫做汽化,汽化吸热;物质由气态变成液态叫做液化,液化放热;
(3)物质由固态直接变成气态叫做升华,升华吸热;物质由气态直接变成固态叫做凝华,凝华放热.
解答: 解:A、加冰块会使饮料变得冰凉,利用了冰块的熔化吸热,符合题意;
B、人从水中出来后感到有点冷,是水的汽化吸热,不符合题意.
C、衣柜中的樟脑片变小,利用了干冰升华吸热,不符合题意.
D、冰箱冷冻室内壁上结霜,利用了水蒸气的凝华放热,不符合题意;
故选A.
点评: 六种物态变化中,吸热的有熔化、汽化、升华,放热的有凝固、液化、凝华,注意分清,是中考的热点.
4.(2分)(2014•牡丹江)下列现象中,由于光的反射形成的是( )
A. |
手影 | B. |
水中倒影 | C. |
铅笔“折断”了 | D. |
日食 |
考点: 光的反射;光直线传播的应用;光的折射现象及其应用.
专题: 光的传播和反射、平面镜成像;光的折射、光的色散.
分析: ①光的折射是指光线从一种介质斜射入另一种介质时,光的传播方向发生改变的现象,比如透镜成像、水变浅了、水中的筷子折断了等;
②光的反射是指光线在传播的过程中遇到障碍物被反射出去的现象,比如平面镜成像;
③要掌握光沿直线传播现象,知道影子的形成、日月食的形成、小孔成像都是光沿直线传播形成的.
解答: 解:A、手影是由光沿直线传播形成的,不符合题意;
B、平静的水面相当于平面镜,水中倒影是平面镜成像现象,故属于光的反射,符合题意;
C、铅笔在水面“折断”是由于光从水中通过空气进入人的眼睛时,光线的传播方向发生改变而形成的虚像,故属于光的折射现象,不符合题意;
D、日全食的形成,是由于太阳、地球、月亮在同一直线上,月亮在中间挡住太阳光而形成的,属于光的直线传播,不符合题意.
故选B.
点评: 影子、小孔成像、树下的光斑、日晷、日月食是光的直线传播原理形成的现象;倒影、照镜子、潜望镜是光的反射原理形成的现象;透镜、看水下的物体变高,光在不均匀介质中不沿直线传播等是光的折射形成的现象.光的反射、折射及光的直线传播在生活中有着很多的现象,要在生活中注意观察,并能用所学物理知识进行解释.
5.(2分)(2014•牡丹江)下列估测合理的是( )
A. 普通学生课桌的高约是1.3mm B. 普遍中学生跑50m的时间约是3s
C. 普通人正常行走的速度约是5m/s D. 一名普通中学生的质量约是50kg
考点: 长度的估测;质量的估测;时间的估测;速度与物体运动.
专题: 估算综合应用题.
分析: 估测法是利用物理概念、规律、物理常数和常识对物理量的数值、数量级进行快速计算以及对取值范围合理估测的方法,这就要求同学们要学会从生活体验中理解物理知识和物理规律,并且能将物理知识和物理规律用于对生活现象和生活常识的简单解释.
解答: 解:
A、普通学生课桌的高约是0.8m=800mm,所以A说法不合理;
B、普通中学生跑50m的时间约是7s左右,所以B说法不合理;
C、普通人正常行走的速度约是1.2m/s,所以C说法不合理;
D、一名普通中学生的质量约是50kg,所以D说法合理.
故选D.
点评: 估测是一种科学的近似计算,它不仅是一种常用的解题方法和思维方法,而且是一种重要的科学研究方法,在生产和生活中也有着重要作用.
6.(2分)(2014•牡丹江)物理知识在生产生活中有许多应用,下列描述正确的是( )
A. |
书包带做得宽是通过减小受力面积来增大压强 | |
B. |
排水管的U形“反水弯”是一个连通器 | |
C. |
大气对吸盘的压力与勺子的重力大小相等 | |
D. |
飞机机翼上方的空气流速快,压强大 |
考点: 增大压强的方法及其应用;二力平衡条件的应用;连通器原理;流体压强与流速的关系.
专题: 运动和力;压强、液体的压强;气体的压强、流体压强与流速的关系.
分析: (1)减小压强的方法:在压力一定时,增大受力面积来减小压强;在受力面积一定时,减小压力来减小压强.
(2)上端开口,下部连通的容器叫做连通器,连通器的特点是容器中的水不流动时,各个容器中液面总是相平的.
(3)先看物体处于的状态,物体是静止的,处于平衡状态,利用二力平衡得,拉力与大气对吸盘的压力大小相等;
(4)空气流速度与压强的关系是:流速大的地方、压强小,流速小的地方、压强大.
解答: 解:A、书包带做得宽是在压力一定时,通过增大受力面积来减小压强,不符合题意;
B、排水管的U形“反水弯”是一个连通器.符合题意;
C、根据二力平衡的条件可知,大气对吸盘的压力与勺子对吸盘的拉力大小相等,不符合题意;
D、空气通过机翼上表面的流速快、压强小.不符合题意.
故选B.
点评: 此题考查了减小压强的方法、连通器原理、二力平衡条件的应用和流体压强和流速的关系,是一道综合性很强的题目.
7.(2分)(2014•牡丹江)如图所示,用滑轮组将钩码缓慢提升一定高度,在这个过程中( )
A. 滑轮组提升钩码做的功是有用功
B. 弹簧测力计拉力做的功是额外功
C. 滑轮组的机械效率与钩码重无关
D. 弹簧测力计上升的高度是钩码的2倍
考点: 有用功和额外功;滑轮组绳子拉力的计算;滑轮(组)的机械效率.
专题: 简单机械;功、功率、机械效率.
分析: (1)滑轮组做的有用功是钩码重和上升高度的乘积,即W有用=Gh;总功是拉力和细绳自由端移动的距离的乘积,即W总=FS;机械效率等于有用功和总功的比值;
(2)影响滑轮组机械效率的因素有提升物体的重力、动滑轮重力、绳子的重力及摩擦,同一滑轮组提升物体重力越大,机械效率越大.
解答: 解:
A、如图,用绳子将钩码提升,升高钩码所做的功为有用功,所以A正确;
B、弹簧测力计拉力做的功是总功,所以B错误;
C、影响滑轮组机械效率的因素有提升物体的重力、动滑轮重力、绳子的重力及摩擦,同一滑轮组提升物体重力越大,机械效率越大,所以C错误;
D、图中滑轮组有3段绳子,弹簧测力计上升的高度是钩码的3倍,所以D错误.
故选A.
点评: 滑轮组做的有用功是提升物体重力做的功,额外功是克服动滑轮重力和绳子重力及摩擦做的功;
提升的物体重力增大,有用功增大,额外功基本不
变,有用功在总功中占得比值增大,机械效率变大.
8.(2分)(2014•牡丹江)如图所示,R1=5Ω,R2=10Ω,闭合开关,电流表示数为0.2A,下列计算结果正确的是( )
A. R1两端电压为2V B. R2两端电压为1V
C. 电源两端电压为3V D. 电路总电阻为20Ω
考点: 欧姆定律的应用.
专题: 应用题;电路和欧姆定律.
分析: 由电路图可知,两电阻串联,电流表测电路中的电流.根据欧姆定律求出两电阻两端的电压,根据串联电路中的电压特点求出电源的电压,根据电阻的串联求出电路中的总电阻.
解答: 解:由电路图可知,两电阻串联,电流表测电路中的电流.
由I=
可得,两电阻两端的电压分别为:
U1=IR1=0.2A×5Ω=1V,U2=IR2=0.2A×10Ω=2V,故AB不正确;
因串联电路中总电压等于各分电压之和,
所以,电源的电压:
U=U1+U2=1V+2V=3V,故C正确;
因串联电路中总电阻等于各分电阻之和,
所以,电路中的总电阻:
R=R1+R2=5Ω+10Ω=15Ω,故D不正确.
故选C.
点评: 本题考查了串联电路的特点和欧姆定律的应用,要注意U、I、R同体.
9.(2分)(2014•牡丹江)下列操作正确的是( )
A. |
测量橡皮的质量 | B. |
测量水的温度 | |
C. |
测量水的体积 | D. |
测量钩码受到的重力 |
考点: 天平的使用;温度计的使用及其读数;量筒的使用;弹簧测力计的使用与读数.
专题: 基本仪器的使用专题.
分析: A、从天平的正确使用上考虑,如天平放置方法、游码位置、调节天平横梁的方法等.
B、从温度计正确放置和正确读数上分析,如温度计的液泡不能接触容器底或壁.
C
、从量筒的正确读数上分析,视线应与凹液面的最低处相平.
D、从弹簧测力计的使用要求分析,在竖直方向上,不能将拉环与挂钩颠倒使用.
解答: 解:A、天平在使用时,应左盘放物体,右盘放砝码,图中物体与砝码位置放反了,故A错误.
B、温度计测量液体温度时,玻璃泡完全浸没在被测液体中,不能碰到容器底和壁,图中液泡接触了容器壁,故B错误.
C、用量筒测量水的体积,读数时视线应与凹液面的最低处相平,图中方法正确,故C正确;
D、在用弹簧测力计测钩码的重力时,不能将拉环与挂钩颠倒使用,这样外壳的重力会对测量结果造成影响,使用方法不对,故D错误.
故选C.
点评: 本题考查了天平的正确使用、温度计的正确使用和读数、量筒的使用、弹簧测力计的正确使用,涉及到的知识点比较多,但是都属于基本的实验技能.
10.(2分)(2014•牡丹江)关于物体的内能,下列说法正确的是( )
A. 正在凝固的水温度为0℃,它没有内能
B. 冬天搓手取暖,是通过做功的方法增加手的内能
C. 汽油机在做功冲程中,将机械能转化为内能
D. 燃料燃烧过程中,热值大的燃料放出的热量一定多
考点: 做功改变物体内能;内能的概念;燃料的热值;内燃机的四个冲程.
专题: 分子热运动、内能;比热容、热机、热值.
分析: A、一切物体都有内能;
B、做功和热传递都可以改变物体的内能,二者是等效的;
C、汽油机的做功冲程中,将内能转化为机械能;
D、燃料放热的多少与燃料的质量、热值等均有关系.
解答: 解:A、一切物体都有内能,正在凝固的水温度为0℃,这中样有内能,故A错误;
B、冬天搓手取暖,是通过做功的方法增加手的内能,故B正确;
C、汽油机在做功冲程中,将内能转化为机械能,而不是将机械能转化为内能,故C错误;
D、燃料燃烧过程中,热值大的燃料放出的热量不一定多,因为放热多少还与燃料的质量有关系,故D错误.
故选B.
点评: 本题主要考查学生对内能的概念的了解和掌握,能对与内能相关的说法做出判断是考试经常出现的内容,属于基础题.
11.(2分)(2014•牡丹江)某白炽灯铭牌上标有“220V 40W”的字样,关于这盏白炽灯的说法正确的是( )
A. 该灯只能在220V的电压下工作 B. 该灯工作时的电功率一定为40W
C. 该灯正常工作时的电流为5.5A D. 该灯正常工作时的电阻为1210Ω
考点: 电功率的计算.
专题: 应用题;电能和电功率.
分析: (1)用电器在不同的电压下实际功率不同,只有在额定电压下用电器正常工作,其实际功率和额定
功率相等;
(2)根据P=
求出正常工作时的电流,根据欧姆定律求出正常工作时的电阻.
解答: 解:A.该灯泡在220V的电压下正常工作,在低于这一电压下也可以工作,但不是正常工作,故A不正确;
B.该灯泡只有在220V的电压下工作时功率为40W,否则不等于40W,故B不正确;
C.由P=UI可得,该灯泡正常工作时的电流I=
=
≈0.18A,故C不正确;
D.由P=
可得,该灯泡正常工作时的电阻R=
=
=1210Ω,故D正确.
故选D.
点评: 本题考查了学生对实际功率和实际电压、电功率公式的灵活应用,是一道基础题目.
12.(2分)(2014•牡丹江)使用杠杆为我们的生活带来方便,下列杠杆的使用能够省距离的是( )
A. |
开瓶器 | B. |
镊子 | C. |
钳子 | D. |
自行车手闸 |
考点: 杠杆的分类.
专题: 简单机械.
分析: 结合图片和生活经验,判断杠杆在使用过程中,动力臂和阻力臂的大小关系,再判断它是属于哪种类型的杠杆,省力的费距离、费力的省距离.
解答: 解:
A、开瓶器在使用过程中,动力臂大于阻力臂,是省力杠杆,但费距离;
B、镊子在使用过程中,动力臂小于阻力臂,是费力杠杆,但省距离;
C、钳子在使用过程中,动力臂大于阻力臂,是省力杠杆,但费距离;
D、自行车手闸在使用过程中,动力臂大于阻力臂,是省力杠杆,但费距离;
故选B.
点评: 本题考查的是杠杆的分类,主要包括以下几种:①省力杠杆,动力臂大于阻力臂;②费力杠杆,动力臂小于阻力臂;③等臂杠杆,动力臂等于阻力臂.
_ueditor_page_break_tag_
二、多项选择题(共3小题,每小题3分,满分9分)
13.(3分)(2014•牡丹江)下列利用电热工作的用电器是( )
A. |
电饭锅 |
|
电风扇 | C. |
电暖器 | D. |
电脑 |
考点: 电流的热效应、化学效应和磁效应.
专题: 电流和电路.
分析: 当电流通过电阻时,电流做功而消耗电能,产生了热量,这种现象叫做电流的热效应.一方面,利用电流的热效应可以为人类的生产和生活服务;另一方面,电流的热效应也有一些不利因素.任何通有电流的导线,都可以在其周围产生磁场的现象,称为电流的磁效应.
解答: 解:A、电饭锅是利用电流的热效应加热的,故A正确;
B、电风扇是利用电动机带动工作的,利用了电流的磁效应,故B错误;
C、电暖气是利用电流的热效应加热的,故C正确;
D、电脑在工作过程中,消耗的电能主要转化光能和声能,
不是利用电流的热效应来工作的,故D错误;
故选AC.
点评: 主要考查电流的热效应、电流的磁效应和电流的化学效应在生活中的应用实例,只有认真把握它们的定义,才能真正区分它们利用的是哪一个效应.体现了物理来源于生活,又服务于社会的理念.
14.(3分)(2014•牡丹江)对下列实验现象的描述,正确的是( )
A. |
条形磁体两端磁性最强,中间磁性最弱 | |
B. |
铁锁来回摆动过程中,内能和机械能相互转化 | |
C. |
摩擦过的气球产生热,能吸引头发 | |
D. |
纸风车下方的空气受热体积膨胀,密度变小而上升 |
考点: 磁性、磁体、磁极;浮力的利用;动能和势能的转化与守恒;物体带电现象.
专题: 其他综合题.
分析: (1)磁体具有两极性,任何磁体都具有两个磁极,磁北极N,磁南极S,磁体中磁极部分磁性最强,中间部分磁性最弱;
(2)物体上升的过程是动能转化为重力势能的过程.物体下降的过程是重力势能转化为动能的过程;
(3)两个物体摩擦时,就会产生电荷,称为摩擦起电现象;带电体具有吸引轻小物体的性质,能够吸引不带电的物体;
(4)根据ρ=
可知:若m不变,V变大,则ρ变小,流动的空气形成风.
解答: 解:
A、条形磁铁的两端是磁极,所以两端磁性最强,中间磁性最弱;物理学中规定磁铁上磁性最强的部分叫磁极,所以A正确;
B、铁锁下降过程是重力势能转化为动能的过程,上升的过程是动能转化为重力势能的过程,所以B错误;
C、摩擦过的气球靠近头发,会看到气球吸引头发,这是因为摩擦过的气球产生了电荷,从而吸引不带电的头发,所以C错误;
D、火焰上方空气加热后体积膨胀,即质量不变,体积变小,密度变小,热空气上升,周围冷空气填充进来,形成风,吹动风车上升,所以D正确.
故选AD.
点评: 熟练掌握物理常识和物理基础知识是解决此类常识题的关键.
15.(3分)(2014•牡丹江)下列说法正确的是( )
A. 半导体材料的导电能力非常好 B. 移动电话利用电磁波传递信息
C. 原子核由质子和中子组成 D. 核电站利用核裂变释放的核能发电
考点: 半导体的特点;原子的核式模型;信息与信息传播;核电站发电过程中的能量转化.
专题: 其他综合题.
分析: A、半导体的导电性介于导体和绝缘体之间;
B、移动电话是利用电磁波来传递信息的;
C、原子核由质子和中子组成;
D、核电站是利用核裂变释放的核能发电的.
解答: 解:A、半导体的导电性介于导体和绝缘体之间,故半导体的导电能力并不算好,故A错误;
B、移动电话既是电磁波的发射台,也是接收台,因此是利用电磁波传递信息的,故B正确;
C、原子核由质子和中子组成,故C正确;
D、核电站是利用可控的核裂变释放的核能发电的,故D正确.
故选BCD.
点评: 本题考查的知识比较广,包含了不同的物理层面,但都属于较简单的基础知识,是我们应该注意了解和积累的.
三、填空与作图题(16-23题每空1分,24题5分,共21分)
16.(2分)(2014•牡丹江)“未见其人,先闻其声”是根据声音的 音色 来做出判断的,近视眼看远处物体时,像成在视网膜前,需要佩戴 凹 透镜矫正.
考点: 音色;近视眼的成因与矫正办法.
专题: 声现象;透镜及其应用.
分析: (1)不同的发声体因材料和结构不同,所发出的声音的音色就不同,音色是辨别不同发声体的重要依据.
(2)凸透镜对光线有会聚作用,凹透镜对光线有发散作用;
近视眼要戴凹透镜做成的眼镜进行矫正,远视眼
要戴凸透镜做成的眼镜进行矫正.
解答: 解:
(1)“未见其人,先闻其声”指的是还未见到她的人,就先听到她的声音,就知道她是谁,红楼梦中对王熙凤有过这样的描写;因为不同发声体的材料、结构不同,发出声音的音色就不同.不同的人音色不同,所以能“闻其声而知其人”.
(2)近视眼是晶状体曲度变大,会聚能力增强,应佩戴发散透镜使光线推迟会聚,因凹透镜对光线有发散作用,所以近视眼应该配戴凹透镜才能看清远处的物体;
故答案为:音色;凹.
点评: 理解音色的特点,知道近视眼的成因和矫正方法.
17.(2分)(2014•牡丹江)如图所示,记录的是甲、乙两辆汽车在平直的公路上的运动情况,在1200m的运动中, 乙 (选填“甲”或“乙”)车一定做变速直线运动,平均速度是 30 m/s.
考点: 速度公式及其应用.
专题: 长度、时间、速度.
分析: (1)分析小车在相等时间内通过路程的关系得出小车的运动状态;
(2)先确定小车在40s内通过的路程,然后根据v=
求出平均速度.
解答: 解:由图知,甲车在相同的时间内通过的路程相同,乙车在相同时间内通过的路程不同,因此甲车做匀速直线运动,乙车做变速直线运动;
乙车在40s内通过的路程为1200m,则乙车的平均速度:v=
=
=30m/s.
故答案为:乙;30.
点评: 熟练应用平均速度公式即可求出汽车在某段时间内的平均速度,在计算过程中注意时间和路程的统一.
18.(2分)(2014•牡丹江)如图所示,篮球撞击到地面时发生弹性形变,产生 弹力 (选填“弹力”、“重力”或“摩擦力”),这个过程中,篮球的动能转化为 弹性势 能.(不考虑机械能的损失)
考点: 弹力;动能和势能的转化与守恒.
专题: 机械能及其转化.
分析: 物体发生弹性形变时,会产生弹力,同时会具有弹性势能.弹性势能与动能之间可以相互转化.
解答: 解:如图,篮球撞击到地面时发生弹性形变,会产生弹力;这个过程中,篮球的动能转化为弹性势能.
故答案为:弹力;弹性势.
点评: 知道弹力、弹性形变的概念,并会分析弹性势能与动能的转化,是解答本题的关键.
19.(2分)(2014•牡丹江)潜水员在较深的海水中工作,要穿抗压潜水服,这是由于海水的压强随 深度 的增加而增大,他潜到5m深处受到海水的压强是 5×104 Pa.(ρ海水取1.0×103kg/m3 g取10N/kg)
考点: 液体的压强的特点;液体的压强的计算.
专题: 压强、液体的压强.
分析: (1)液体内部向各个方向都有压强,液体的压强随深度增加而增大;
(2)知道潜水员所处深度和水的密度,利用液体压强公式p=ρgh求潜水员受到水的压强.
解答: 解:(1)液体的压强大小与深度有关,越深处压强越大,深水潜水员在潜水时要受到比在水面上大许多倍的压强,所以必须穿上高强度耐压的潜水服才行.
(2)潜水员潜到水下5m深处,水对他的压强:
p=ρgh=1×103kg/m3×10N/kg×5m=5×104Pa.
故答案为:深度;5×104.
点评: 本题考查了液体压强的特点以及液体压强的计算,属于基础知识的考查,比较简单.
20.(2分)(2014•牡丹江)如图所示,自动铅笔芯与电池,小灯泡串联,固定铅笔芯一端的夹子,移动另一端的夹子,改变铅笔芯接入电路中的 长度 ,使铅笔芯接入电路中的电阻发生改变,从而改变通过电路中的 电流 ,小灯泡的亮度也发生变化.
考点: 欧姆定律的应用.
专题: 应用题;电路和欧姆定律.
分析: (1)导体电阻的大小与导体的材料、长度、横截面积和温度有关;
(2)导线在铅笔芯上滑动,能改变改变连入电路电阻丝的长度,改变连入电路的电阻,改变电路中的电流.
解答: 解:移动铅笔芯上的夹子,可以改变铅笔芯接入电路中的长度,从而改变接入电路中的电阻,
由I=
可知,改变了电路中的电流,能改变灯泡的亮度.
故答案为:长度;电流
点评: 本题考查了影响电阻的因素和欧姆定律的应用,明白滑动变阻器的原理较为关键.
21.(2分)(2014•牡丹江)用来做装饰的小彩灯,往往一个灯坏了,一串灯全都不亮,这串灯之间是 串 联,马路边的路灯,灯与灯之间是 并 联.(均选填“串”或“并”)
考点: 串联电路和并联电路的辨别.
专题: 电流和电路.
分析: (1)每只小彩灯的工作电压很小,所以只能将多个小彩灯串联起来接在家庭电路中使用,这是依据串联分压的特点.
(2)路灯和家用电器都可以独立工作,互不影响,所以是并联的连接方式.
解答: 解:串联电路的总电压等于各用电器电压之和.由于小彩灯的工作电压很小,所以只能将它们串联接在家庭电路中,因此会出现一个坏了,一串灯全都不亮的情况.
马路路灯同时亮,同时熄灭,但它们都可以单独工作,并且互不影响,因此它们是并联在一起的.
故答案为:串;并.
点评: 本题考查了串联和并联电路的特点,知道小彩灯工作电压很小的特点和构造上的特殊性.
22.(2分)(2014•牡丹江)满载货物的轮船停泊在港口,它受到的浮力 等于 (选填“大于”、“等于”或“小于”)重力.卸掉货物后,轮船排开水的体积 变小 (选填“变大”、“不变”或“变小”).
考点: 物体的浮沉条件及其应用;阿基米德原理.
专题: 浮力;浮沉的应用.
分析: 轮船在水中都漂浮状态,由物体的浮沉条件可知受到的浮力与轮船受到的重力的关系;
轮船卸下货物后,船自身重力减小,浮力减小,据此分析船排开水的体积的变化情况.
解答: 解:满载货物的轮船停泊在港口,轮船为漂浮状态,所以受到的浮力与重力相等;
轮船卸下货物后,船自身重力减小,但船仍旧处于漂浮状态,受到的浮力与重力仍旧相等,所以浮力减小,
∵F浮=ρ水v排g,
∴排开水的体积v排变小,
故答案为:等于;变小.
点评: 本题考查物体的浮沉条件及阿基米德原理,关键应注意轮船漂浮时浮力等于物重这一特点,属于基础题,但容易出错.
23.(2分)(2014•牡丹江)烈日炎炎的夏季,中午海滩上的沙子热得烫脚,海水却非常凉爽,这是因为水的比热容 大于 (选填“大于”、“等于”或“小于”)沙子的比热容.质量为2kg的水温度升高10℃时,吸收的热量是 8.4×104 J.[(c水=4.2×103J/(kg•℃)].
考点: 水的比热容的特点及应用;热量的计算.
专题: 比热容、热机、热值.
分析: (1)水的比热容大于沙子的比热容,所以在吸收相同热量的情况下,初温相同的水和沙子,沙子的温度升高的快.
(2)知道水的质量和比热容、温度的变化量,根据Q吸=c
m△t求出水吸收的热量.
解答: 解:(1)水的比热容大于沙子的比热容,沙子的温度升高的快,沙子的末温高,水的末温低,所以光脚走在海滩上会感觉到沙“烫脚”,走进海水中却感觉到海水很凉.
(2)水吸收的热量为:
Q吸=c水m△t
=4.2×103J/(kg•℃)×2kg×10℃
=8.4×104J
故答案为:大于;8.4×104.
点评: 本题考查了水比热容较大的特点以及吸热公式的应用,熟练掌握公式是解题的关键.
24.(5分)(2014•牡丹江)(1)如图甲所示,请用笔画线表示导线,将插座、电灯和开关正确接入家庭电路中.
(2)如图乙所示,一辆汽车在水平路面上匀速行驶,请画出汽车在水平方向上受力的示意图.(不计空气阻力)
考点: 家庭电路的连接;力的示意图.
专题: 作图题;电与热、生活用电;运动和力.
分析: (1)灯泡的接法:火线进入开关,再进入灯泡顶端的金属点;零线直接接入灯泡的螺旋套.三孔插座的接法:上孔接地线;左孔接零线;右孔接火线.
(2)汽车在水平路面上做匀速直线运动时,处于平衡状态,它受
到的牵引力与摩擦力是一对平衡力,大小相等,方向相反.
解答: 解:(1)灯泡接法:火线进入开关,再进入灯泡,零线直接接入灯泡,这样在断开开关能切断火线,接触灯泡不会发生触电事故.既能控制灯泡,又能更安全.
三孔插座的接法:上孔接地线;左孔接零线;右孔接火线.如图所示.
(2)汽车在水平路面上做匀速直线运动时,水平方向上牵引力F与摩擦力f是一对平衡力,如图所示.
点评: (1)掌握家庭电路的灯泡、开关、三孔插座、两孔插座、保险丝的接法,同时考虑使用性和安全性.
(2)本题考查力的示意图的画法,画力的示意图时,重点是明确力的三要素.
_ueditor_page_break_tag_
四、解答题(25题4分,26-29题每题6分,共28分)
25.(4分)(2014•牡丹江)(1)如图甲所示,用弹簧测力计水平拉动木块,使它沿着水平的长木板做匀速直线运动,木块在水平木板上受到的滑动摩擦力的大小 等于 拉力的大小 ,要研究滑动摩擦力的大小与接触面所受压力的关系,一定要保持接触面的粗糙程度相同,改变木块对长木板的压力,这种研究问题的思维方法运用在许多物理实验中,请列举一例: 探究电流与电压、电阻的关系 .
(2)如图乙所示,在“探究光折射时的特点”的实验中,两组同学根据实验现象作出了光路图.对比光路图可以发现,当光以相同的入射角斜射入 不同的 (选填“相同的”或“不同的”)介质中时,折射角不同,折射角的大小可能与什么因素有关?你的猜想是: 介质种类 .
考点: 二力平衡条件的应用;光
的折射现象及其应用.
专题: 控制变量法;光的折射、光的色散;运动和力.
分析: (1)①二力平衡的运动状态是静止或匀速直线运动,二力平衡的条件是作用在同一物体上的两个力大小相等、方向相反、作用在同一直线上;②被研究的问题和多个因素有关时,要控制其他因素不变,改变其中一个因素进行研究,这种思维方法叫控制变量法.
(2)①入射的介质是否相同可以根据图来判断;②由图可知,介质不同其折射角度也不同.
解答: 解:
(1)①由题意已知木板做匀速直线运动,在水平方向只受摩擦力和拉力,所以这两个力平衡,互相平衡的两个力大小相等;②初中物理实验中用到控制变量法的实例很多,如:探究电流与电压、电阻的关系,压力作用效果的影响因素,电阻大小的影响因素等.
(2)图中入射的介质分别是水和玻璃,所以光线射入的是不同的介质,在两种介质中的折射角度不同,因此可判断折射角的大小可能与介质种类有关.
故答案为:(1)拉力的大小;探究电流与电压、电阻的关系(其他符合控制变量法的实验即可).
(2)不同的;介质种类.
点评: (1)灵活掌握二力平衡的运动状态和成立条件,很多实例利用此知识点来判断;实验名称要记准.
(2)由题中的图来推理答案,此类题并不难.
26.(6分)(2014•牡丹江)人在水中会下沉,却能漂浮在死海上,那么,是不是浮力的大小跟液体的密度有关?小红找来烧杯、清水、盐水、细线、弹簧测力计、一块橡皮泥(不溶于水),想通过实验来验证猜想.
(1)用细线将橡皮泥拴好悬挂在弹簧测力计下,读出弹簧测力计的示数F1,这就是橡皮泥受到的 重力 .
(2)把橡皮泥浸没在清水中,读出弹簧测力计的示数F2,求出橡皮泥受到的浮力F浮= F1﹣F2 .
(3)接下来应进行的操作是: 把橡皮泥浸没在盐水中 ,并读出弹簧测力计的示数,求出橡皮泥此时受到的浮力.
(4)比较橡皮泥在清水和盐水中受到的浮力的大小,若两个力的大小 不相等 (选填“相等”或“不相等”),说明浮力的大小和液体的密度有关;反之,则无关.
(5)由于橡皮泥的形状容易发生变
化,小红认为浮力的大小可能还跟物体的形状有关,要继续验证这个猜想,她只需要改变这块橡皮泥的 形状 ,重复上面步骤中的 (2) (填一个序号),通过比较橡皮泥在同种液体中前后两次受到的浮力的大小,判断浮力的大小是否与物体的形状有关.
考点: 探究浮力大小的实验.
专题: 实验题;探究型实验综合题.
分析: (1)在空气中弹簧测力计的示数即为下
方所挂物体的重力;
(2)知道橡皮泥的重力和浸没在水中时弹簧测力计的示数,利用称重法求出橡皮泥受到的浮力;
(3)探究物体所受浮力的大小与液体密度的关系时应控制物体排开液体的体积不变,改变液体的密度,据此进行回答;
(4)比较橡皮泥在清水和盐水中所受浮力的大小,两者相等说明浮力与液体的密度无关,否则有关;
(5)探究物体所受浮力的大小与物体形状的关系时,应控制物体排开液体的体积和液体的密度不变,改变物体的形状.
解答: 解:(1)用细线将橡皮泥拴好悬挂在弹簧测力计下,弹簧测力计的示数即为橡皮泥受到的重力;
(2)橡皮泥受到的浮力F浮=G﹣F′=F1﹣F2;
(3)接下来的操作是,把橡皮泥浸没在盐水中,并读出弹簧测力计的示数,求出橡皮泥此时受到的浮力;
(4)橡皮泥在清水中受到的浮力不等于在盐水中受到的浮力,说明浮力与液体的密度有关,否则无关;
(5)探究浮力的大小可能还跟物体的形状有关时,只需改变物体的形状,然后浸没在水中测出受到的浮力即可.
故答案为:
(1)重力;
(2)F1﹣F2;
(3)把橡皮泥浸没在盐水中;
(4)形状;(2).
点评: 本题考查了探究浮力大小的实验,明白影响浮力大小的因素和利用好控制变量法是解题的关键.
27.(6分)(2014•牡丹江)在“探究水沸腾时温度变化的特点”的实验中,小强用酒精灯给烧杯中的水加热.
(1)如图甲所示,在加热过程中,会看到从烧杯底部逐渐出现一些较大的气泡,有些气泡没有上升到水面就消失了,这些气泡里也含有一些水蒸气,气泡里的水蒸气去哪里了? 液化成水回到水中 (请利用物态变化的知识说明).
(2)当水温接近90℃时,每隔0.5min记录一次温度.加热到第3min时,水开始沸腾,如图乙所示,沸腾时,水中形成的大量气泡不断上升,这是一种剧烈的 汽化 现象.(填物态变化名称)
(3)如图丙所示,小强根据测得的数据绘制出了温度与时间关系的图象,分析图象可知:沸腾前,水的温度 升高 (选填“升高”、“不变”或“降低”),当水的温度达到 99 ℃时开始沸腾,沸腾过程中,水的温度 不变 (选填“升高”、“不变”或“降低”),但仍需要 吸热 (选填“吸热”或“放热”).
考点: 探究水的沸腾实验.
专题: 实验题;探究型实验综合题.
分析: (1)物质由气态变为液态叫液化;
(2)水的沸腾是在液体的内部和表面同时进行的剧烈的汽化现象;
(3)水沸腾前,下层的水温度高于上层水温度,气泡上升过程中,气泡内的水蒸气遇冷液化成小水珠,气泡越来越小;
解答: 解:(1)在加热过程中,会看到从烧杯底部逐渐出现一些较大的气泡,有些气泡没有上升到水面就消失了,这些气泡里也含有一些水蒸气,这些水蒸气
液化成水回到水中;
(2)水沸腾是在一定温度下在液体内部和表面同时进行的剧烈的汽化现象.
(3)由图可知,沸腾前,水的温度不断升高,当水的温度达到99℃时开始沸腾,沸腾过程中,水的温度不变但仍需要继续吸热.
故答案为:(1)液化成水回到水中;(2)汽化;(3)升高;99;不变;吸热.
点评: 在“观察水的沸腾”实验中,对实验现象的观察是实验的重要内容,我们应对沸腾时的重要现象有所了解,并会分析相关的数据.
28.(6分)(2014•牡丹江)在“探究什么情况下磁可以生电”的实验中:
(1)小星设计的电路如图甲所示,在蹄形磁体的磁场中放置一根导线ab,ab的两端分别跟开关,螺线管连接,螺线管旁放置一个小磁针,当ab中产生电流时,螺线管中有 电流 通过,小磁针会发生偏转.
(2)小星闭合开关后,不管导线ab在磁场中怎样运动,小磁针都不偏转,是没有产生电流,还是产生的电流太微弱?他换用了一个灵敏电流表代替螺线管和小磁针,如果灵敏电流表指针发生偏转,表明ab中产生电流,实验的情况如图乙所示.
A、观察并分析①②③现象可知:导体静止时, 不能 产生感应电流;导体沿着磁感线方向运动时, 不能 产生感应电流;导体切割磁感应线运动时, 能 产生感应电流.(均选填“能”或“不能”)
B、观察并分析③④现象可知:产生感应电流的条件之一是 闭合电路 .
(3)对比图甲和图乙两次实验后,小星认为:图甲中小磁针不发生偏转,不是没有产生电流,而是 产生的电流太微弱 .
考点: 探究电磁感应现象的实验.
专题: 实验题;探究型实验综合题.
分析: 蹄形磁铁中,磁感线是从N极指向S极的,而要想产生感应电流,必须让闭合电路的一部分导体在磁场中做切割磁感线运动,观察导体ab是否切割磁感线是判断的关键.
解答: 解:(1)当导体ab中产生电流时,螺线管中有电流通过,螺线管周围形成磁场,小磁针受磁力作用会发生偏转.
(2)图乙中的电路都是闭合电路:
A、观察并分析①②③现象可知:导体静止时,没有做切割磁感线运动,不能产生感应电流;导体沿着磁感线方向运动时,没有做切割磁感线运动,不能产生感应电流;导体切割磁感应线运动时,能产生感应电流.
B、观察并分析③④现象可知:产生感应电流的条件之一是闭合电路.
(3)对比图甲和图乙两次实验后,图甲中小磁针不发生偏转,不是没有产生电流,而是产生的电流太微弱.
故答案为:(1)电流;
(2)不能;不能;能;闭合电路;
(3)产生的电流太微弱.
点评: 明确产生感应电流的条件是闭合电路的一部分导体,在磁场中做切割磁感线运动.
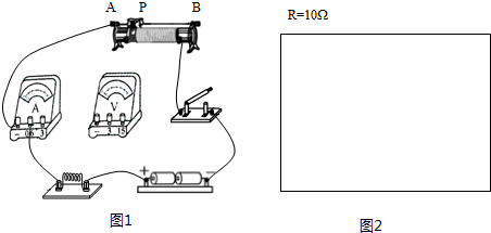
29.(6分)(2014•牡丹江)为了探究电流与电压的关系,小迪选取了一个10Ω的定值电阻,用滑动变阻器来改变电阻两端的电压.
(1)小迪连接的电路如图1所示,请你帮他将电压表正确接入电路中.
(2)闭合开关前,小迪应将滑动变阻器的滑片p滑到 A 端.(选填“A”或“B”)
(3)小迪在检查电路连接无误后,应将开关 闭合 (选填“断开”或“闭合”),调节滑动变阻器
,观察电压表和 电流表 的示数,测量并记下几组数据.
(4)为记录数据,请你在图2方框内帮小迪设计一个记录实验数据的表格.
(5)在实验过程中,多测几组数据不是为了求平均值,是为了 得出电流与电压的普遍规律 .
考点: 探究电流与电压、电阻的关系实验.
专题: 实验题;探究型实验综合题.
分析: (1)根据电源电压判断电压表的量程,然后从电压表并联在电阻两端,注意正负接线柱的接入方法.
(2)为了保护电路闭合开关前,滑动变阻器处于阻值最大处.
(3)在检查电路连接无误后,应将开关闭合,调节滑动变阻器,观察电压表和电流表的示数,多测几组数据.
(4)探究电流与电压的关系实验,应记录的是电压和电流值;
(5)为了防止测量的偶然性,采取多次测量求平均值的方法,是为了探究普遍性,或减小误差.
解答: 解:(1)电源电压由2节干电池组成,电压为3V,电压表选择0~3V,电压表不是并联在定值电阻两端,
(2)闭合开关前,小迪应将滑动变阻器的滑片p滑到A端.
(3)在检查电路连接无误后,应将开关闭合,调节滑动变阻器,观察电压表和电流表的示数,测量并记下几组数据.
(4)探究电流与电压的关系实验,应记录的是电压和电流值,表格如下:
次数 | 1 | 2 | 3 |
电压/V | |||
电流/A |
(5)改变了待测电阻两端的电压和通过它的电流,可以多测几组数据,得出电流与电压的普遍规律.
故答案为:(1)图略;(4)A;(3)闭合;电流表;(4)表格如上;(5)得出电流与电压的普遍规律.
点评: 在实物连接图中找错误,要从电流表、电压表、滑动变阻器的正确使用上逐条对照,防止遗漏;还要注意滑动变阻器在不同实
验中的作用,关键是能否知道相关实验的目的和探究方法是解决本题的关键.
五、综合与运用题(30题5分,31题6分,32题7分,共18分。解答应写出必要的文字说明、步骤和公式,只写出最后结果的不得分)
30.(5分)(2014•牡丹江)2013年6月20日,航天员王亚平在天宫一号进行了中 航天史上的首堂太空授课.
(1)如图甲所示,王亚平把金属圈插入水袋中再慢慢抽出来,圈中形成了一个透明的水膜,移动金属圈,水膜随之运动,金属圈停止运动时,水膜中甩出一个小水滴,小水滴离开水膜后为什么能够继续向前运动?
(2)如图乙所示,水膜能成正立、放大的像.如图丙所示,往水膜中注水,水膜变成一个晶莹剔透的大水球,大水球能成倒立、缩小的像.水膜和大水球相当于什么光学仪器?为什么有成不同的像?
考点: 惯性;凸透镜成像的应用.
专题: 透镜及其应用;运动和力.
分析: (1)一切物体都有保持原来运动状态的性质,叫惯性;
(2)凸透镜成像的三种情况和应用.
U>2f,成倒立、缩小的实像,应用于照相机和摄像机.
2f>U>f,成倒立、放大的实像,应用于幻灯机和投影仪.
U<f,成倒正立、放大的虚像,应用于放大镜.
解答: 解:(1)因为水滴原来是运动的,离开水膜后,由于惯性,水滴还要保持原来的运动状态,因此水滴会继续运动;
(2)水膜和大水球相当于凸透镜;
图乙中是因为物体到凸透镜的距离小于焦距,成正立、放的虚像;
图丙中是因为人到凸透镜的距离大于凸透镜的二倍焦距,所以成倒立、缩小的实像.
答:(1)因为水滴原来是运动的,离开水膜后,由于惯性,水滴还要保持原来的运动状态,因此水滴会继续运动;
(2)水膜和大水球相当于凸透镜;
图乙中是因为物体到凸透镜的距离小于焦距,成正立、放的虚像;
图丙中是因为人到凸透镜的距离大于凸透镜的二倍焦距,所以成倒立、缩小的实像.
点评: 本题考查了惯性知识和凸透镜成像的规律以及物距、像距和像之间的关系.
31.(6分)(2014•牡丹江)如图所示,印刷厂新进一批纸张,每包纸受到的重力是5100N,体积是0.6m3,利用叉车运送纸包,将纸包放在叉托上,纸包与叉托的接触面积是0.1m2,每次叉车将一包纸匀速向上举高1m,需要20s.
(1)每包纸的质量是多少?纸的密度是多少?
(2)根据已知的数据,你还能求出哪些物理量?请计算出三个大小不同的物理量.
考点: 密度的计算;重力的计算;压强的大小及其计算;功的计算.
专题: 其他综合题.
分析: (1)知道每包纸受到的重力,根据G=mg求出其质量,又知道这包纸的体积,根据密度公式求出纸的密度;
(2)①将纸包放在叉托上静止时,这包纸对叉车的压力和自身的重力相等,又知道接触面积,根据压强公式求出对叉车的压强;
②知道这包纸的重力和上升的高度,根据W=Gh求出叉车对这包纸做的功,根据P=
求出叉车对这包纸做功的功率;
③知道这包纸上升的高度和时间,根据v=
求出运动的速度.
解答: 解:(1)由G=mg可得,这包纸的质量:
m=
=
=510kg,
这包纸的密度:
ρ=
=
=0.85×103kg/m3;
(2)①将纸包放在叉托上静止时,这包纸对叉车的压力:
F=G=5100N,
对叉车的压强:
p=
=
=5.1×104Pa;
②叉车对这包纸做的功:
W=Gh=5100N×1m=5100J,
叉车对这包纸做功的功率:
P=
=
=255W;
③这包纸上升的速度:
v=
=
=0.05m/s.
答:(1)每包纸的质量是510kg,纸的密度是0.85×103kg/m3;
(2)①将纸包放在叉托上静止时,这包纸对叉车的压力为5100N,对叉车的压强5.1×104Pa;
②叉车对这包纸做的功5100J,叉车对这包纸做功的功率为255W;
③这包纸上升的速度为0.05m/s.
点评: 本题是一道开放性的题目,涉及到重力公式、密度公式、压强公式
、速度公式、做功公式和功率公式的灵活应用,关键是分析好所给数据的作用.
32.(7分)(2014•牡丹江)雷电是大气中一种剧烈的放电现象,放电时释放子出巨大的能量.
(1)如果发明一种能够收集雷电电能的装置,且该装置一次能够收集的电能是4.4×108J,这些电能可以供20台“22V 1100W”的空调同时正常工作多长时间?
(2)如果只有这20台空调同时正常工作,那么干路导线中的电流是多少?假如干路导线的电阻是0.05Ω,10min内干路导线上产生的热量是多少?
(3)雷电也可能给人类造成巨大的伤害,日常生活中注意防雷非常重要,请你说了一种防雷的方法.
考点: 电功计算公式的应用;电功率与电压、电流的关系;焦耳定律的计算公式及其应用.
专题: 电能和电功率.
分析: (1)根据电功率的公式P=UI计算出电路中总功率,再根据P=
计算出工作的时间;
(2)根据电功率公式P=UI计算出干路中电流,再根据焦耳定律Q=I2Rt计算出产生的热量;
(3)天空中的云有的带正电荷,有的带负电荷,当带有正负电荷的云朵相遇时,就会释放出大量能量,从而产生雷电,释放的大量能量会使空气振动,也会有电流经过,从而对人类带来危害.为了防止这些能量对人类的伤害,因此把这些能量转移走或避开的角度分析.
解答: 解:(1)电路中总功率P=1100W×20=2.2×104W,
由P=
得工作时间:
t=
=
=2×104s;
(2)由P=UI得干路电流:
I=
=
=100A,
干路导线上产生的热量:
Q=I2Rt=(100A)2×0.05Ω×10×60s=3×105J;
(3)发生雷暴天气时,为了预防雷电引起的灾害,从避开雷电为入手点,预防措施有:
①高大建筑物要安装避雷针;
②雷雨天不能接打手机;
③雷雨天不能在空旷的地上行走;
④雷雨天不能在树下避雨.
答:(1)正常工作2×104s;
(2)干路导线中的电流是100A;干路导线上产生的热量是3×105J;
(3)高大建筑物要安装避雷针(或雷雨天不能接打手机、雷雨天不能在空旷的地上行走、雷雨天不能在树下避雨).
点评: 本题考查了电功率、焦耳定律公式的灵活运用,以及雷电的预防和利用,难度不大;要理论联系实际,多观察、多分析.
B.
