(单词翻译:单击)
一、选择题(本题共10小题,每小题2分,共20分.每小题给出的四个选项中只有一个符合题意)
1.(2分)能源科技的发展促进了人类文明的进步,但化石能源的大量使用也带来了诸如酸雨、雾霾、温室效应等环境问题.下列做法或说法不符合环保要求的是( )
A.外出尽量骑自行车或公交车,做到低碳出行
B.生活中要节约粮食节约用水、避免用电器待机耗电
C.依靠科技进步,开发和推广清洁的可再生能源
D.因为能量在转化过程中是守恒的,所以能源是“取之不尽,用之不竭”的
考点:有利于节约能源的措施.
专题:能源的利用与发展.
分析:(1)“低碳生活”是指生活作息时尽量减少能量消耗,减低碳特别是二氧化碳的排放量,然后根据消耗能量的产物是否有二氧化碳产生进行实例分析;
(2)地球上的淡水资源越来越少,人口的增长对淡水和粮食需求越来越多,如今家用电器越来越多,它们在待机状态下也会耗电;
(3)因不可再生能源与可再生能源区别在于能否短期内从自然界得到补充,现代能源科技的发展方向就是力求节约不可再生能源,积极开发和推广清洁的可再生能源的利用技术;
(4)我们使用能量的过程就是能量转化和转移的过程,而能量的转化和转移是有方向性的,并不是所有的能量都可以利用.
解答:解:
A、汽车燃油会产生二氧化碳,骑自行车不会产生二氧化碳,乘坐公交车能减少二氧化碳的排放量,所以符合“低碳生活”的要求,A是正确的;
B、人口的增长对淡水和粮食需求越来越多,如今家用电器越来越多,它们在待机状态下也会耗电,B是正确的;
C、现代能源科技的发展方向就是力求节约不可再生能源,积极开发和推广清洁的可再生能源的利用技术,C是正确的;
D、虽然能量是守恒的,但能量的转化具有方向性,且并不是所有的能量都可以使用,所以能源危机依然是存在的,D是错误的.
故选D.
点评:此题考查的知识点比较多,考查了温室效应、能源危机、新能源的开发和利用、能量的转化;能源问题是当今世界的主题,是需要我们共同关注的问题.
2.(2分)下列估测与实际情况相符的是( )
A.物理课本的宽度大约为20cm
B.一个鸡蛋的重力大约为10N
C.电热水壶的功率约为50W
D.公路上汽车的正常行驶速度约为300km/h
考点:长度的估测;速度与物体运动;重力大小的估测;电功率.
专题:估算综合应用题.
分析:不同物理量的估算,有的需要凭借生活经验,有的需要简单的计算,有的要进行单位的换算,
最后判断最符合实际的是哪一个.
解答:解:
A、中学生伸开手掌,大拇指指尖到中指指尖的距离大约20cm,物理课本的宽度与此差不多,在20cm左右.此选项符合实际;
B、一个鸡蛋的质量在50g=0.05kg左右,受到的重力为G=mg=0.05kg×10N/kg=0.5N.此选项不符合实际;
C、电热水壶正常工作的电流在5A左右,电功率约为P=UI=220V×5A=1100W左右.此选项不符合实际;
D、公路上汽车的正常行驶速度在60km/h左右.此选项不符合实际.
故选A.
点评:本题考查学生对生活中常见物体的数据的了解情况,本题告诉我们一定要对实际生活中常见的物体做到熟知,以免闹了笑话自己还不知道.
3.(2分)下列说法正确的是( )
A.在道路旁安装隔音板是从声源处控制噪声的
B.雨后天空中出现的彩虹,是由光的反射产生的
C.用久了的电灯泡玻璃壁会变黑,是因为灯丝发生了汽化和凝固现象
D.乘客在火车站候车时必须站在安全线以内,原因是火车急速驶过时,安全线外的空气流速大,压强小,人容易被“吸”过去
考点:防治噪声的途径;升华和凝华的定义和特点;流体压强与流速的关系;光的折射现象及其应用.
专题:声现象;光的折射、光的色散;汽化和液化、升华和凝华;气体的压强、流体压强与流速的关系.
分析:(1)防治噪声的途径,从三方面考虑:①在声源处;②在传播过程中;③在人耳处;
(2)彩虹是由光的折射形成的,由于不同色光折射程度不同,所以把白光折射分成各种色光;
(3)白炽灯在发光时,钨丝的温度是比较高的,钨会升华为钨的蒸汽,在灯泡不发光时,钨丝的温度就会降低,灯泡内的温度降低,钨蒸汽受冷凝华为黑丝的钨;
(4)流体的压强跟流速有关,流速越大,压强越小.
解答:解:
A、城市道路旁安装隔音板,这是在传播过程中减弱噪声,所以A错误;
B、当太阳光射入雨后空气中的小水滴时,太阳光经过折射发生色散,从而形成彩虹,所以B错误;
C、用久了的电灯泡玻璃壁会变黑,是因为灯丝发生了升华和凝华现象,所以C错误;
D、当火车驶过车站时,安全线以内的地方空气流速增大压强减小,人与火车之间的压强小于另一侧的压强,人被压向列车,发生交通事故,所以D正确.
故选D.
点评:本题考查学生对防治噪声的途径、光的色散、物态变化和流体压强与流速的关系等知识在生活中具体应用,是一道基础题.
4.(2分)下列做法不符合安全用电原则的是( )
A.用电器的金属外壳应接地
B.检查维修家用电器时,应将电源断开
C.为防止家庭电路中的熔丝频繁烧断,可用铜丝代替熔丝
D.使用测电笔时,手要接触测电笔尾部的金属电极
考点:安全用电原则.
专题:电与热、生活用电.
分析:①对于金属外壳的家用电器,金属外壳一定接地,防止外壳漏电,发生触电事故;
②当人体直接或间接接触火线并形成电流通路的时候,就会有电流流过人体,从而造成触电;
③家庭电路要安装符合安全要求的保险丝,不能用铁丝或铜丝代替保险丝;
④测电笔的正确使用是:手接触笔尾金属体,笔尖金属体接触零线或火线,氖管发光的是火线,氖管不发光的是零线.
解答:解:
A、带有金属外壳的用电器,金属外壳与地线相连,防止金属外壳漏电,发生触电事故.此选项正确;
B、检查维修家用电器时,要先断开开关,以免电路中有电流,发生触电事故.此选项正确;
C、当电路电流过大时,保险丝容易熔断而保护电路,如果用铜丝代替保险丝后,就起不到保护作用了.此选项错误;
D、使用测电笔时,手要与笔尾金属体接触.此选项正确.
故选C.
点评:本题来源于日常生活的常见现象和行为,在考查安全用电的原则中,实现安全用电知识的宣传和教育作用.
5.(2分)关于粒子和宇宙,下列说法正确的是( )
A.水和酒精混合后总体积变小,直接证明了分子间存在引力
B.卢瑟福根据实验建立了原子的核式结构模型
C.摩擦起电是通过摩擦的方法创造了电荷
D.宇宙是一个有层次的天体结构,恒星是绝对不动的
考点:分子间的作用力;原子的核式模型;人类探究太阳系及宇宙的历程;摩擦起电的实质.
专题:粒子与宇宙、材料世界.
分析:(1)
构成物体的分子并不是非常紧密的排列在一起的,分子之间有间隙;
(2)1909年英国物理学家卢瑟福和他的同事们根据α粒子散射实验装置示意图,提出了原子的核式结构模型;
(3)摩擦起电不是创造了电荷,而是电荷的转移;
(4)运动是宇宙中的普遍现象,绝对不动的物体是不存在的.
解答:解:
A、水和酒精混合后总体积变小,直接证明了分子间存在间隙,所以A错误;
B、物理学家卢瑟福和他的同事们根据α粒子散射实验装置示意图,提出了原子的核式结构模型,所以B正确;
C、摩擦起电不是创造了电荷,而是电荷的转移,所以C错误;
D、宇宙是一个有层次的天体结构,恒星是运动的,因为宇宙中绝对不动的物体是不存在的,所以D错误.
故选B.
点评:本题考查的知识点较多,但难度不大,属于一些常识性的知识点,是我们应熟知的.
6.(2分)下列诗句中蕴含
一定的物理知识,其中说法正确的是( )
A.“姑苏城外寒山寺,夜半钟声到客船”,人们是通过音调辨别出钟声的
B.“两岸猿声啼不住,轻舟已过万重山”,“轻舟”的运动是以船上乘客为参照物的
C.“绿树阴浓夏日长,楼台倒影入池塘”,“楼台倒影入池塘”是光的折射
D.“花气袭人知昼暖,鹊声穿树喜新晴”,“花气袭人”说明分子在做无规则运动
考点:音调、响度与音色的区分;参照物及其选择;光的反射;分子的运动.
专题:其他综合题.
分析:(1)音色反映了声音的品质和特色,不同发声体的材料、结构不同,发出声音的音色也就不同;
(2)判断物体运动还是静止,就是看研究的物体和参照物之间位置是否发生了变化;
(3)光的反射现象,平面镜成像是由于光的反射形成的;
(4)掌握扩散现象,知道一切物体的分子都在不停地做无规则运动.
解答:解:
A、“夜半钟声到客船”钟声是根据音色判断出的,所以A说法错误;
B、以“乘客”为参照物,“乘客”和“轻舟”之间的位置没有变化,故“轻舟”是运动的;以“河岸”为参照物,所以B说法错误;
C、“楼台倒影入池塘”属于平面镜成像,是由光的反射形成的,所以C说法错误;
D、“花气袭人”是由于分子的无规则运动造成的,所以D说法正确.
故选D.
点评:此题通过诗句考查了音色、相对运动、光的反射、扩散现象,平时要注意区分.在平时学习中注意将所学知识与自然现象联系起来.
7.(2分)微距摄影是指照相机通过镜头拍摄与物体等大或稍小的图象.如图所示,一次微距摄影中,拍摄图象与物体等大,光学镜头等效为一个凸透镜,则物体一定位于( )

A.两倍焦距以外 B.
两倍焦距上
C.两倍焦距与1倍焦距之间 D.1倍焦距以内
考点:凸透镜成像的应用.
专题:透镜及其应用.
分析:根据凸透镜成像的规律,当物距等于二倍焦距时,凸透镜成倒立等大的实像,据此进行分析便可.
解答:解:拍摄图象与物体等大,所以物距应等于2倍焦距,物体放在二倍焦距处;
故选B.
点评:此题考查了对凸透镜成像规律的应用,熟练掌握凸透镜成像规律是解决此题的关键,难度不大,是基础性题目.
8.(2分)2014年3月8日,马航MH370航班在飞行途中与地面失去联系.一种叫“蓝鳍金枪鱼”的自主式水下航行器参与了搜寻,它可以潜入水下4500m深处,利用声呐搜寻物体.下列说法正确的是( )
A.失联前,马航MH370是通过超声波与地面进行联系的
B.飞机在空中水平匀速飞行时,受到平衡力的作用
C.“蓝鳍金枪鱼”下潜过程中,其所受的浮力和压强不变
D.“蓝鳍金枪鱼”是利用电磁波探寻水下物体的
考点:电磁波的传播;液体的压强的特点;阿基米德原理.
专题:社会热点综合题.
分析:(1)雷达、无线电通信、移动通信等都是利用电磁波传递信息的,飞行中飞机与地面取得联系是利用电磁波传递信息的;
(2)根据牛顿第一定律可知,物体处于静止状态或匀速直线运动状态时,物体不受力或受到平衡力作用;
(3)“蓝鳍金枪鱼”自主式水下航行器在水面下不断下潜的过程中,排开水的体积不变、所处深度变大,但水的密度不变,利用阿基米德原理的推导公式F浮=ρ液V排g和液体压强公式p=ρ液gh分析判断;
(4)因为超声波的方向性好,遇到障碍物易反射的特点,“蓝鳍金枪鱼”对疑似海域水下进行搜索时使用的声呐装置是利用超声波探测水下目标的.
解答:解:
A、失联前,马航MH
370是通过电磁波与地面进行联系的,所以A错误;
B、飞机在空中水平匀速飞行时,飞机处于平衡状态,所以受到平衡力的作用,所以B正确;
C、“蓝鳍金枪鱼”自主式水下航行器在水面下不断下潜的过程中,水的密度ρ不变,
∵F浮=ρV排g,排开水的体积不变,∴自主式水下航行器受到的浮力不变;
∵p=ρgh,自主式水下航行器所处的深度h变大,∴自主式水下航行器受到的水的压强变大;所以C错误;
D、”蓝鳍金枪鱼”自主式水下航行器是利用超声波探寻水下物体的,所以D错误.
故选B.
点评:该题考查了电磁波的应用、牛顿第一定律、影响浮力和压强的因素、超声波的应用,是一道综合题.
9.(2分)如图所示四个实验现象中,揭示了电动机工作原理的是( )
A. |
| B. |
| C. |
| D. |
|
考点:直流电动机的原理.
专题:电动机、磁生电.
分析:电动机的工作原理是:通电导体在磁场中受到力的作用.
解答:解:A、是奥斯特实验图,小磁针发针偏转说明通电导体周围有磁场,不符合题意;
B、是探究电磁铁的磁性强弱与电流大小的关系实验,不符合题意;
C、电路中有电流,通电线圈或导体受到磁场力的作用发生运动,是电动机的工作原理,符合题意;
D、是电磁感应的实验图,属于发电的原理,不符合题意;
故选C.
点评:本题涉及的内容有电流的磁效应、电动机的原理和发电机的原理.注意电磁感应和通电导体在磁场中受力运动的装置是不同的,前者外部没有电源,后者外部有电源.
10.(2分)如图所示为某温度报警器的电路图,图中R0为定值电阻,R为热敏电阻,其阻值随温度的升高而减小,电源电压保持不变.当温度升高时,电路中电表示数的变化情况是( )

A.电流表和电压表示数均变小
B.电流表和电压表示数均变大
C.电流表示数变大,电压表示数变小
D.电流表示数均变小,电压表示数变大
考点:电路的动态分析.
专题:电路变化分析综合题.
分析:由图示电路图可知,两电阻串联,电压表测热敏电阻两端电压,电流表测电路电流;根据温度的变化判断热敏电阻阻值如何变化,然后应用串联电路特点与欧姆定律分析答题.
解答:解:由图示电路图可知,两电阻串联,电压表测热敏电阻两端电压,电流表测电路电流;
当温度升高时,热敏电阻R阻值减小,电路总电阻减小,电源电压不变,由欧姆定律可知,
电路电流增大,电流表示数变大;热敏电阻阻值减小,热敏电阻分压减小,电压表示数减小,故C正确;
故选C.
点评:本题是电路动态分析题,分析清楚电路结构、根据串联电路特点与欧姆定律即可正确解题;解题时要注意从题中获取所需信息:热敏电阻R的阻值随温度的升高而减小.
二、填空题(本题共7小题,第11-15题及第16题第1空1分,其余每空2分,共21分)
11.(4分)连云港至盐城的高速公路已开工建设.在节能技术上,连盐城铁路动车组采用了再生制动方式.列车进站前,会关闭动力,依靠 惯性 继续滑行,车轮上装有发电机,列车滑行过程中通过发电机将 机械 能转化为 电 能.连盐城铁路全线长240km,若一动车组从连云港驶往盐城,所用时间为1.2h,则动车组行驶的平均速度为 200 km/h.
考点:变速运动与平均速度;惯性.
专题:长度、时间、速度;运动和力.
分析:(1)列车在减速行驶时,列车由于惯性要保持原来的运动状态,同时把机械能转化为电能,达到再生制动效果;
(2)知道路程和时间,根据v=
求出行驶速度.
解答:解:
(1)列车在减速过程中,由于惯性还要保持
原来的运动状态,带动闭合电路的一部分导体在磁场中进行切割磁感线运动,电路中有感应电流产生.在继续行驶带动发电机发电过程中,机械能转化为电能.
(2)动车组行驶的平均速度为v=
=200km/h.
故答案为:惯性;机械;电;200.
点评:此题主要考查的是学生对惯性、能量转化、速度计算公式的理解和掌握,基础性题目.
12.(3分)某同学用图示装置做探究杠杆平衡条件的实验,图中杠杆匀质且均匀刻度.当杠杆水平平衡后,在左侧第2格上挂3个相同的钩码,则应在右侧第3格上挂 2 个相同的钩码才能使杠杆水平平衡;若在右侧改用弹簧测力计向下拉,弹簧测力计由竖直方向逐渐向左转动,杠杆始终保持水平平衡,则弹簧测力计的示数将逐渐 增大 (选填“增大”“减小”或“不变”).

考点:探究杠杆的平衡条件实验.
专题:探究型实验综合题.
分析:(1)根据杠杆平衡条件,判断在右侧第3格上挂几个钩码;
(2)弹簧测力计竖直向下拉杠杆时,力臂在杠杆上,当弹簧测力计倾斜拉杠杆时,力臂变短,阻力、阻力臂不变,动力臂变短,动力
变大.
解答:解:(1)设一个钩码的重力为G,杠杆的一个小格为L,
根据杠杆平衡条件得:3G×2L=2G×3L,
所以,应在右侧第3格上挂2个钩码.
(2)若在右侧改用弹簧测力计向下拉,弹簧测力计由竖直方向逐渐向左转动时,阻力、阻力臂不变,动力臂逐渐变小,根据杠杆平衡条件得,动力逐渐变大,弹簧测力计示数将逐渐增大.
故答案为:2;增大.
点评:杠杆在水平位置平衡时,力臂在杠杆上,如果杠杆不在平衡位置平衡,动力臂和阻力臂都变小.
13.(2分)科学研究发现,某些材料在超低温的情况下电阻突然减小为零,这种性质称为超导性,具有超导性的物体称为超导体.超导体有着十分诱人的应用前景.
(1)请就超导现象提出一个探究性问题,如:哪些材料具有超导性? 低温超导的原理是什么 .
(2)请列举未来超导体可能应用的一个例子 电动机 .
考点:超导体的特点;超导体的作用.
专题:粒子与宇宙、材料世界.
分析:(1)当温度降低到一定程度时,某些导体的电阻突然变为零的现象叫超导现象,此时导体变为超导体;
(2)超导体的电阻为零,不会放热,所以电能无法转化为内能.超导体的电阻为零,也就避免了内能的损耗,适合做输电线.
解答:解:
(1)低温超导的原理是什么?
(2)超导材料的特点就是在温度很低时电阻为零,当电阻为零时用超导材料传输电能可以减少热损耗,如:输电导线、电磁铁、电动机和发电机线圈等;
用作输电导线或制作电子元件.
故答案为:
(1)低温超导的原理是什么;
(2)电动机.
点评:超导体的电阻为0,也就避免了内能的损耗,适合做输电线路.
14.(2分)在探究光的反射规律时,小红将一科沿ON折转的白色硬纸板ABCD 垂直 放置在平面镜上,让一束光紧贴硬纸板射向镜面上的O点,可在ABCD平面内看到反射光线.实验中使用可折转的硬纸板,除了能呈现光路外,另一个作用是 探究反射光线、入射光线与法线是否在同一平面内 .

考点:光的反射定律.
专题:光的传播和反射、平面镜成像.
分析:只有硬纸板和平面镜垂直,才能保证法线和平面镜垂直;
硬纸板可以显示光路,同时当把纸板向后缓慢旋转时,反射光线将会消失,所以证明了反射光线、法线、入射光线在同一平面内.
解答:解:在探究光的反射规律时,将白色硬纸板垂直放置在平面镜上,这样可
以使反射光线和入射光线在硬纸板上呈现;
实验中使用可折转的硬纸板,除了能呈现光路外,通过向后折硬纸板,观察现象来探究反射光线、入射光线与法线是否在同一平面内.
故答案为:垂直;探究反射光线、入射光线与法线是否在同一平面内.
点评:此题是探究光的反射定律的实验,考查了硬纸板在实验中的应用及摆放,要理解原因,并掌握规律.
15.(4分)如图所示,为探究运动和力的关系,小强在水平面上铺上粗糙程度不同的材料,将小车从斜面上的同一位置由静止释放,比较小车在水平面上运动的距离.当水平面越光滑时,小车受到的摩擦力越 小 ,小车运动的距离越 远 ;若不受摩擦力及其他阻力,小车将做 匀速直线 运动.研究过程中采用了 实验加推理 (选填“单纯的实验”或“实验加推理”)的方法.

考点:阻力对物体运动影响的探究实验.
专题:探究型实验综合题.
分析:探究运动和力的关系实验中,水平面越光滑,小车受到的阻力越小,速度减小得越慢,小车运动得越远,推理得出若不受阻力,小车将做匀速直线运动.
解答:解:实验中,水平面越光滑时,小车受到的摩擦力越小,小车运动的距离越远;
若不受摩擦力及其他阻力,小车将做匀速直线运动.
研究过程中采用了实验加推理的方法.
故答案为:小;远;匀速直线;实验加推理.
点评:该题考查了学生对于该实验所采用的方法是否掌握以及对该实验的推理结论是否了解.该实验用到的方法是物理中经常采用的控制变量法,该实验是理解牛顿第一定律的基础.
16.(2分)某同学用托盘天平和量筒测量一小块岩石的密度.他调节天平时出现了图甲所示情形,他应将平衡螺母向 右 (选填“左”或“右”)移动使天平平衡.图乙和图丙分别是测量质量和体积时的读数,则该岩石的密度为 3.57×103 kg/m3.

考点:固体密度的测量.
专题:测量型实验综合题.
分析:在进行天平的调平时,遵循指针左偏右调、右偏左调的原则;
天平平衡时,物体的质量等于砝码的质量加游码在标尺上所对的刻度值;
读出水的体积、水和岩石的总体积,计算出岩石的体积,由ρ=
计算出岩石的密度.
解答:解:由图甲知,指针左偏,所以应将平衡螺母向右移动使天平平衡.
由图乙知,标尺的分度值为0.2g,所以岩石的质量m=50g+20g+1.4g=71.4g;
由图丙知,水的体积为60ml,水和岩石的总体积为80ml,则岩石的体积V=80ml﹣60ml=20ml=20cm3;
该岩石的密度为ρ=
=
=3.57g/cm3=3.57×103kg/m3.
故答案为:右;3.57×103.
点评:此题是测量岩石的密度实验,考查了天平和量筒的使用及读数及密度的计算,测固体密度,在初中物理中是重要内容,学习中必须掌握!
17.(4分)某会议室里安装了100只相同的LED节能灯,这些灯全部正常发光2h,且无其他用电器工作,电能表的示数由
变为
.已知每只灯的额定电压为220V,则通过每只灯泡的电流为 0.05 A;实验表明,一只这样的节能灯与一只60W的白炽灯正常发光是亮度相等.与使用60W的白炽灯相比,100只这样的节能灯正常发光2h可节能 4 kW•h.
考点:电能表参数的理解与电能的求法.
专题:电能和电功率.
分析:(1)根据电能表的示数计算出2h消耗的电能,计算出一只白炽灯消耗的电能;由电功的计算公式W=UIt计算出每只灯泡的电流;
(2)一只白炽灯比LE
D灯的功率多60W﹣40W=20W,根据电功的计算公式W=Pt计算出100只60W的白炽灯比LED灯工作2h节约的电能.
解答:解:(1)消耗的电能等于某段时间末的读数减去起始数:W=5863.5kW•h﹣5861.3kW•h=2.2kW•h,
一只白炽灯消耗的电能W′=
=
=0.022kW=79200J;
由W=UIt得,I=
=
=0.05A,
(3)一只LED节能灯比白炽灯节约的功率P=60W﹣40W=20W=0.02kW,
节约的电能W″=Pt=0.02kW×2h×100=4kW•h.
故答案为:0.05;4.
点评:能够正确读出电
能表的读数和灵活运用电功、电功率的计算公式是解题的关键;还要注意单位的统一.
三、作图和实验探究题(本题4小题,共30分)
18.(4分)按照题目要求作图:

(1)如图甲所示,一箱子放在水平向右匀速行驶的汽车上,请画出箱子受力的示意图.
(2)如图乙所示,F为凸透镜的焦点,O为光心,请画出入射光线所对应的折射光线.
考点:力的示意图;透镜的光路图.
专题:图像综合题.
分析:(1)掌握力的示意图的画法,将力的大小、方向和作用点表示在图上,推力方向向右.
(2)根据两条入射光线的特点,利用凸透镜的三条特殊光线,即可做出对应的折射光线.
解答:解:(1)因为箱子放在水平向右匀速行驶的汽车上,所以箱子在水平方向不受力,只受重力和支持力,可以将力的作用点选在箱子的中央,画带箭头的线段表示重力和支持力,最后标上力的符号和大小;
(2)过焦点的入射光线经过凸透镜折射后,折射光线平行于主光轴;过光心的入射光线其传播方向不变,由此可以得到两条折射光线;
故答案为:

点评:力的示意图是初中物理的一个重要知识点,因此,掌握正确的力的示意图的作图步骤对于同学们来说是非常重要的.做光路图时,要注意一些细节:①实线与虚线;②角度的标注;③光线的箭头.
19.(8分)用如图所示装置测量动滑轮的机械效率.实验时,竖直向上的匀速拉动弹簧测力计,使挂在动滑轮下面的钩码缓缓上升.实验数据如下表.
序号 | 动滑轮重 G动/N |
钩码重力G/N | 钩码上升高度h/m | 绳的拉力F/N | 绳端移动距离 s/m | 机械效率η |
① | 0.1 | 1 | 0.2 | 0.6 | 0.4 | 83.3% |
② | 0.1 | 2 | 0.2 | 1.1 | 0.4 | |
③ | 0.2 | 2 | 0.2 | 1.2 | 0.4 | 83.3% |
(1)第②次实验时,测得动滑轮的机械效率约为 90.9% .
(2)分析表中数据可知,对于同一动滑轮,所提升钩码的重力增大,机械效率将 增大 ;提升相同重力的钩码时,动滑轮的重力增大,其机械效率将 减小 .(选填“增大”、“减小”或“不变”)
(3)分析表中数据可知,F≠
,可能的原因是: 滑轮与轮轴间有摩擦、绳子有重力 .

考点:滑轮(组)机械效率的测量实验.
专题:探究型实验综合题.
分析:(1)根据表中实验数据应用效率公式求出动滑轮的 机械效率.
(2)分析表中实验数据,然后得出结论.
(3)从摩擦与绳重等方面分析答题.
解答:解:(1)由表中实验数据可知,第②次实验时,动滑轮的机械效率:
η=
×100%=
×100%=
×100%≈90.9%;
(2)由表中实验序号为①②的实验数据可知,对于同一动滑轮,所提升钩码的重力增大,机械效率将增大;
由表中实验序号为②③的实验数据可知,提升相同重力的钩码时,动滑轮的重力增大,其机械效率将减小.
(3)由于滑轮与轮轴间存在摩擦、缠绕滑轮组的绳子有重力,因此:F≠
.
故答案为:(1)90.9%;(2)增大;减小;(3)滑轮与轮轴间有摩擦、绳子有重力.
点评:本题考查了求滑轮组效率、实验数据分析,应用效率公式可以求出滑轮组效率,应用控制变量法分析表中实验数据即可正确解题;解题时要注意控制变量法的应用.
20.(8分)小华同学利用图甲所示装置对100g冰加热,他每隔相同时间记录一次温度计的示数,并观察物质的状态.图乙是他根据记录的数据绘制的温度﹣﹣时间图象,根据图象可知:

(1)冰属于 晶体 (选填“晶体”或“非晶体”);
(2)在BC阶段物质处于 固液共存 状态(选填“固体”、“液体”或“固液共存”);
(3)设相同时间内物质吸收的热量相同,则BC阶段物质共吸收了 2.1×103 J的热量(c冰=2.1×103J/kg•℃,c水=4.2×103J/kg•℃);
(4)图丙是另一位同学在完成同一实验时绘制的温度﹣﹣时间图象,老师认为他的C段数据有问题,老师做出这样的判断的依据是 水的比热容较大,质量相同的冰和水吸收相同的热量,水升温应较慢 .
考点:熔化和凝固的探究实验.
专题:探究型实验综合题.
分析:(1)掌握晶体在熔化过程中的特点:吸热但温度保持不变.
(2)知道晶体在熔化前为固态;熔化过程为固液共存态;熔化完后为液态.
(3)晶体吸收的热量Q=cm(t﹣t0);
(4)首先根据该物质的熔点判断出该物质为冰.知道水的比热容最大.
解答:解:(1)由图象知,该物质在熔化过程中温度保持不变,所以是晶体;
(2)由图象知,BC段为熔化过程,处于固液共存态.熔化过程中要不断吸热,但温度不变;
(3)AB阶段物质吸收的热量Q=cm(t﹣t0)=2.1×103J/(kg•℃)×0.1kg×2.1×103J;则BC阶段物质共吸收了 2.1×103J的热量;
(4)因为水的比热容较大,质量相同的冰和水吸收相同的热量,水升温应较慢,而图C中水升温应较快.
故答案为:(1)晶体;(2)固液混合;(3)2.1×103;(4)水的比热容较大,质量相同的冰和水吸收相同的热量,水升温应较慢.
点评:观察晶体与非晶体图象要学会看关键点,这样才能做出准确的判断.吸收的公式是我们应该重点掌握的,运用中注意温度的变化值是多少.实验中物质吸收的热量来自加热器,我们应通过这一点来判断,而不能通过温度的高低.
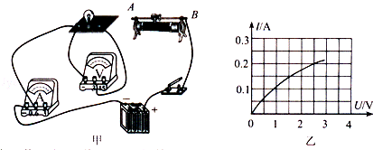
21.(10分)一个额定电压为2.5V的小灯泡,正常工作时的电阻约为10Ω,小明想探究小灯泡的电流与其两端电压的关系.实验室提供了如下器材:电源(电压恒定为6V)、电压表、电流表、“50Ω 0.5A”的滑动变阻器、开关各1个、导线若干.

(1)请你帮助
小明用笔画线代替导线,将甲图中的实物电路连接完整,要求滑片位于最右端B时,滑动变阻器接入电路的电阻值最大.
(2)正确连接后,小明将滑片置于最右端,闭合开关,发现小灯泡不亮,两电表无示数,为判断故障,小明将电压表改接在滑动变阻器下面两接线柱上,发现电压表有示数.则电路发生故障的原因是 滑动变阻器断路 .
(3)排除故障后,小明移动滑动变阻器的滑片,记下多组电流表及对应
电压表的示数,并画出图乙所示的I﹣U图象.从图象可看出,当电压较高时,电流与电压并不成正比,其原因是 灯丝的电阻随温度的升高而增大 .
(4)由图象信息可知,小灯泡的额定功率为 0.5 W,小灯泡正常发光时,滑动变阻器接入电路的电阻为 12.5 Ω.
考点:探究电流与电压、电阻的关系实验.
专题:探究型实验综合题.
分析:(1)将滑动变阻器一上一下串联在电路中,根据要求判断下端所接的接线柱;
(2)通过小灯泡不亮,两电表无示数,判断出电路中出现断路,然后根据具体情况判断断路处;
(3)根据灯丝电阻随温度的升高而增大的特点进行分析;
(4)判断出额定电压和电流,根据P=UI计算额定电功率,根据R=
计算电阻值.
解答:解:(1)将滑动变阻器串联在电路中,滑片位于最右端B时,滑动变阻器接入电路的电阻值最大,则滑动变阻器的下面应接左边的接线柱,如图所示:

(2)小灯泡不亮,两电表无示数,则电路断路,将电压表改接在滑动变阻器下面两接线柱上,发现电压表有示数,则说明与电压表并联的滑动变阻器断路;
(3)灯丝的电阻随温度的升高而增大,当电压升高时,灯泡的亮度增大,灯丝的温度升高,所以当电压较高时,电流与电压并不成正比;
(4)由图象知,当U=2.5V时,灯泡中的电流I=0.2A,所以P=UI=2.5V×0.2A=0.5W;R=
=
=12.5Ω.
故答案为:(1)见上图;(2)滑动变阻器断路;(3)灯丝的电阻随温度的升高而增大;(4)0.5;12.5.
点评:本题是电学实验题,主要考查了滑动变阻器的连接、电路故障的分析、灯丝电阻与温度的关系及电功率、电阻的计算,考查全面,综合性较强.
四、解答题(本题共2小题,共19分。解答时要求写出必要的文字说明、公式和演算过程)
22.(9分)一边长为0.1m的正方体实心铝块放在水平地面上.已知ρ铝=2.7×103kg/m3,g=10N/kg.
(1)该铝块的重力及它对地面的压强是多大?
(2)工人师傅将它铸造成一个体积为3×10﹣3m3的工艺品,若将该工艺品放入水中,静止时受到的浮力是多大?
考点:重力的计算;压强的大小及其计算;浮力大小的计算.
专题:重力、弹力、摩擦力;压强、液体的压强;浮力.
分析:(1)知道正方体铝块的边长,根据体积公式求出铝块的体积;已知铝的密度,根据ρ=
求出铝块的质量,根据公式G=mg可以求铝块的重力即铝块对地面的压力F,又知道边长可求受力面积s,再根据压强公式p=
求解;
(2)根据工艺品的体积和质量,求出工艺品的密度,判断出工艺品在水中静止时的状态,然后求出工艺品受到的浮力.
解答:解:
(1)∵L=0.1m,ρ铝=2.7×103kg/m3,
∴V=L3=(0.1m)3=0.001m3,
s=0.1m×0.1m=0.01m2,
根据ρ=
,铝块的质量m=ρ铝V=2.7×103kg/m3×0.001m3=2.7kg,
铝块的重力
G=mg=2.7kg×10N/kg=27N;
铝块对地面的压强p=
=
=
2700Pa;
(2)已知工艺品的体积V工=3×10﹣3m3,
所以工艺品的密度ρ=
=
=0.9×103kg/m3;
∵工艺品的密度小于水的密度,
∴工艺品漂浮在水面上F浮=G=27N.
答:(1)正
方体铝块的重力为27N,它对地面的压强为2700Pa;
(2)工艺品所受的浮力为27N.
点评:本题考查了体积的计算、质量的计算、重力的计算、压强和浮力的计算,是一道综合性题目,难度较大,本题的难点是计算浮力前要先判断物体在水中的状态,然后确定计算浮力的方法.
23.(10分)如图所示,电源的电压为12V,且保持不变,R0为“100Ω 0.5A”的滑动变阻器,R2=10Ω.cd和ef为两对接线柱,另有一只定值电阻R1和一根导线接在两对接线柱上.当闭合S、S1.断开S2,滑动变阻器的滑片P置于最左端a时,滑动变阻器消耗的功率为1W;当闭合S、S2,断开S1,滑片P置于中点时,滑动变阻器消耗的功率为2W.
(1)通过计算确定电阻R1及导线的位置并求出R1的阻值;
(2)闭合S、S2,断开S1,使R2消耗的功率不小于0.9W,且保持电路安全工作,求滑动变阻器接入电路的阻值范围.

考点:欧姆定律的应用;电功率的计算.
专题:计算题;欧姆定律;电能和电功率.
分析:(1)假设导线的位置在ef之间,则当闭合S、S1.断开S2,滑动变阻器的滑片P置于最左端a时,只有滑动变阻器连入电路,所以根据变阻器的实际功率即可判断假设的是否正确,由此可判断电阻R1及导线的位置;
根据P=I2R求出电路中的电流,根据欧姆定律求出滑动变阻器两端的电压,然后根据串联电路的电压特点和欧姆定律求出定值电阻R1的阻值;
(
2)闭合S、S2,断开S1,滑动变阻器与R2串联,根据P=I2R求出电路中的最小电流,R2两端的最小电压,
根据串联电路的电压特点和欧姆定律求出此时滑动变阻器接入电路的最大阻值;
根据变阻器额定电流判断出电路所达到的最大电流,然后根据串联电路的电压特点和欧姆定律求出此时滑动变阻器接入电路的最小阻值.
解答:解:(1)假设导线的位置在ef之间,则当闭合S、S1.断开S2,滑动变阻器的滑片P置于最左端a时,只有滑动变阻器连入电路,
则此时变阻器的功率应为:P=
=
=1.44W,
∵P>P实1,
∴在ef之间不是导线,是电阻R1;则导线在cd之间;
则由P=I2R得:此时电路中的电流I1=
=
=0.1A,
滑动变阻器两端的电压U实1=I1R0=0.1A×100Ω=10V,
∵串联电路的电压电压各部分电路两端的电压之和,
∴U1=U﹣U实1=12V﹣10V=2V,
根据欧姆定律得:R1=
=
=20Ω.
(2)闭合S、S2,断开S1,滑动变阻器与R2串联,
∵使R2消耗的功率不小于0.9W,
∴根据P=I2R得:Imin=
=
=0.3A,
根据欧姆定律得:R2两端的最小电压U2min=IminR2=0.3A×10Ω=3V,
∵串联电路的电压电压各部分电路两端的电压之和,
∴U0max=U﹣U2min=12V﹣3V=9V,
根据欧姆定律得:R0max=
=
=30Ω;
∵变阻器额定电流为0.5A,∴电路中最大电流Imax=0.5A,
根据欧姆定律得:R2两端的最大电压U2max=ImaxR2=0.5A×10Ω=5V,
∵串联电路的电压电压各部分电路两端的电压之和,
∴U0min=U﹣U2max=12V﹣5V=7V,
根据欧姆定律得:R0min=
=
=14Ω;
∴滑动变阻器接入电路的阻值范围为14Ω~30Ω.
答:(1)电阻R1在ef处,导线在cd处,R1的阻值为20Ω;
(2)保持电路安全工作,滑动变阻器接入电路的阻值范围为14Ω~30Ω.
点评:本题考查了串联电路的特点及欧姆定律、电功率的计算,关键是开关闭合、断开时电路串并联的辨别和知道电路中最大电流和最小电流判断.




